油封装配图

摘要附图摘要本实用新型涉及螺杆压缩机装配领域,具体为一种骨架油封
图片尺寸1076x1073
机械制图中油封怎么画?
图片尺寸647x512
求机械密封的cad装配图纸一张,做展示用.
图片尺寸1840x3264
骨架油封的装配
图片尺寸558x690
柴油机厂家油封加工外协 查看采购商
图片尺寸589x604
锅炉给水泵油封烧损原因及改进措施
图片尺寸358x312
唇形油封的装配方式及注意事项?
图片尺寸1149x536
装配式油封结构图
图片尺寸939x404
风电齿轮箱 mark>密封 /mark> mark>件 /mark>之骨架油封——安维士
图片尺寸744x455
一种曲轴后油封平稳装配的装置
图片尺寸600x415
一种新型的油封安装结构制造技术
图片尺寸800x593
油封装配图
图片尺寸287x233
发动机曲轴前油封的装配装置制造方法及图纸,曲轴后油封装配图专利_技
图片尺寸1000x574
什么是骨架油封,骨架油封常用的材质有哪些?惠诺来告诉您
图片尺寸934x448
dc内包骨架油封图
图片尺寸1158x806
浮动油封密封件的常见设计结构及用途
图片尺寸692x472
装配式油封结构图
图片尺寸1003x459
一种曲轴后油封装配工装制造技术,曲轴后油封装配图专利_技高网
图片尺寸1000x903
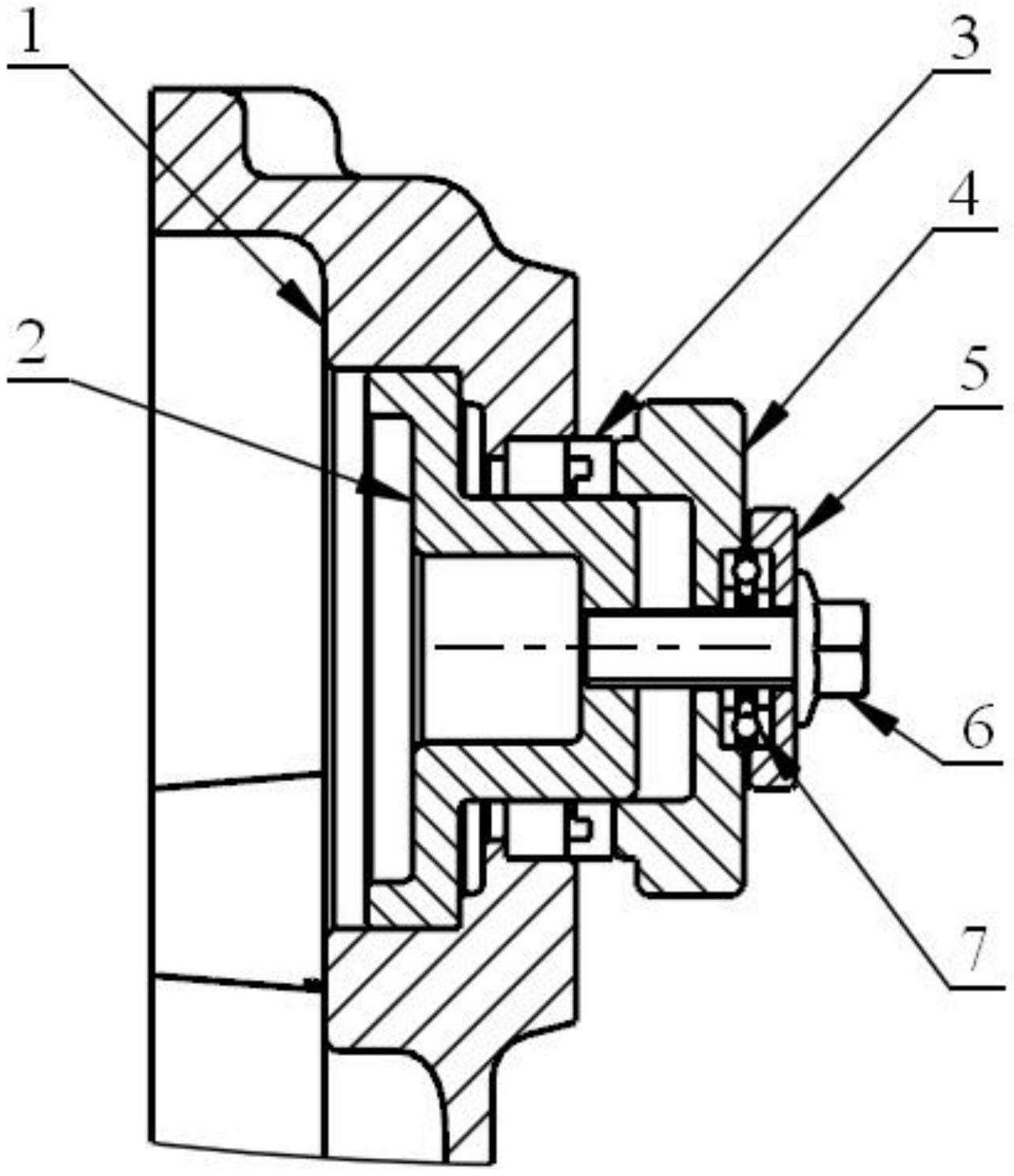
定位轴内开有螺纹孔,所述定位轴上由内至外依次同轴装配有骨架油封和
图片尺寸1283x1488
碳钢外壳ptfe双唇口旋转油封
图片尺寸857x652