油气分离器结构

油气分离器工作原理
图片尺寸920x690
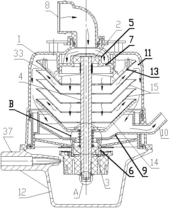
一种立式油气分离器的制作方法
图片尺寸734x1000
换油气分离器到底管不管用?
图片尺寸720x721
cn2880212y_一种油气分离器失效
图片尺寸2528x2052
机油水分离器,包括:主体,输入管道,界面液位计;主体为圆形筒状结构
图片尺寸1338x1871
旋风式油气分离器结构图
图片尺寸800x510
油气水三相分离器
图片尺寸799x600
一个典型的油气分离器结构图
图片尺寸246x348
油气分离器的工作原理,结构分别是什么
图片尺寸297x361
结构设计 本机组螺杆压缩机油气分离器由粗分离和精
图片尺寸433x539
油气分离器结构工作原理
图片尺寸639x463
油气田分离器的结构特点和工作原理ppt
图片尺寸1080x810
大众 奥迪 ea888发动机油气分离器(ea888的心病)
图片尺寸1080x785
例如,对于气水井和泥砂井,适宜选用立式油气分离器;对于泡沫排水井和
图片尺寸387x495
主动式油气分离器
图片尺寸591x725
旋风式油气分离器结构原理图
图片尺寸640x428
cn100571843c_油气自动排放旋流气液分离器有效
图片尺寸1559x1777
三相分离器的结构和工作原理
图片尺寸804x660
式油气分离器,包括外置油气分离壳,所述外置油气分离壳为圆柱形结构
图片尺寸889x1000
油气分离器的结构工作原理
图片尺寸464x343