油水分离池图纸

油水分离器隔油池
图片尺寸1225x902
餐厅饭店商用油池污水处理厨房油水分离器三级过滤餐饮隔油油污池 40*
图片尺寸750x615
油水分离池设计详图下载(130.59 kb,dwg格式) 机械cad图纸
图片尺寸755x534
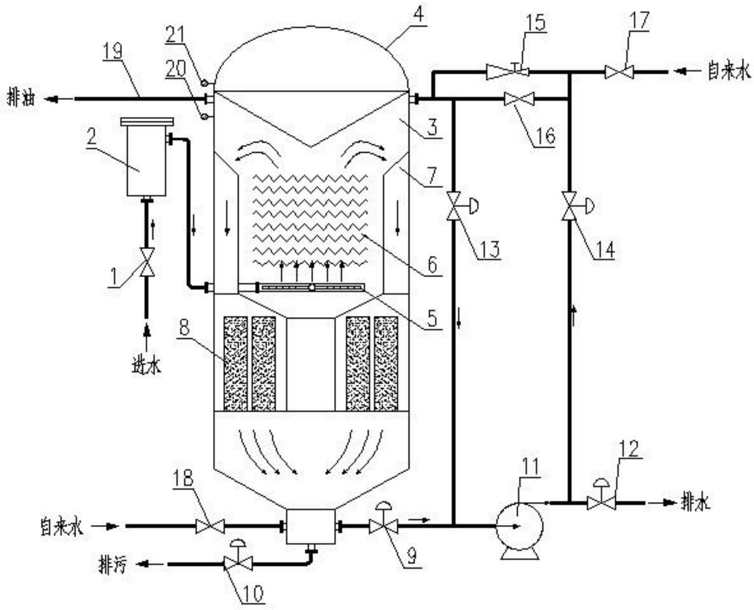
一种环保餐饮废水处理用油水分离池制造技术
图片尺寸952x1000
一种全天候的主变事故集油池油水分离系统
图片尺寸1995x1044
不锈钢油水分离器 餐饮隔油池饭店用污水处理器 隔油池 厨房环
图片尺寸750x496
海南餐厅厨房隔油池餐厨油水分离设备价格
图片尺寸653x421
成都油水分离器厂家教你隔油池设计方法
图片尺寸687x471
油水分离池
图片尺寸261x205
cn101656138a_带油,水分离装置的事故储油池有效
图片尺寸1684x1371
餐厅油水分离池价格
图片尺寸468x305
油水分离系统详细设计图 - 环保图纸 - 沐风网
图片尺寸576x419
一种环保餐饮废水处理用油水分离池的制作方法
图片尺寸1000x903
酒店油水分离器餐饮厨房隔油池生产厂家
图片尺寸631x710
厨房油水分离器隔油池油水分离池隔油处理设备cad图纸生产图纸
图片尺寸624x658
油水分离器 绿森环保设计生产质量承保
图片尺寸1075x626
a1-平流式隔油池a1-水解酸化和生物接触氧化池图纸参数图纸id: 987682
图片尺寸820x572
环保餐饮废水处理用油水分离池
图片尺寸1774x1863
(全自动油水分离器图纸)
图片尺寸600x393
cn107986391a_复合型高效油水分离装置在审
图片尺寸1483x1199