油水分离画原理

油水分离器远行原理示意图
图片尺寸530x300
创作小技法166油水分离运用抽象机理
图片尺寸1080x1059
重力沉降">重力沉降 /a>原理或者其他物化反应去除杂质或完成油份和 a
图片尺寸1000x502
商易宝 产品列表 环境保护 污水纯水处理 固液分离 油水分离设备点击
图片尺寸600x337
特别关注|油水分离器操作和维护不能"随便"
图片尺寸756x511
重力沉降">重力沉降 /a>原理或者其他物化反应去除杂质或完成油份和 a
图片尺寸1000x552
重力沉降">重力沉降 /a>原理或者其他物化反应去除杂质或完成油份和 a
图片尺寸1000x658
sepura油水分离器原理
图片尺寸640x640
写字楼饭店部油水分离器
图片尺寸886x541
新型的纤维-液膜油水分离器
图片尺寸1117x742
油水离心分离器的工作原理
图片尺寸1000x897
不锈钢油水分离器 餐饮隔油池饭店用污水处理器 隔油池 厨房环保
图片尺寸750x496
餐饮店油水分离器装在哪里注意事项
图片尺寸660x420
某船油水分离器滞留案例分析
图片尺寸556x498
光电液位开关在工业油水分离器中的应用
图片尺寸600x421
个示意图来简单地解释一下它的工作原理:图:傲虎cusco油气分离器本次
图片尺寸1000x763
jysd2-50-3.0-n/w不锈钢油水分离器安装示意图
图片尺寸700x328
data-lemmaid="322780">石油 /a>中几种不同沸点的混合物分离的一种
图片尺寸1054x1424
长沙油水分离器是怎样在全国独领风骚的?及行业发展趋势
图片尺寸740x402
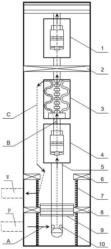
井下油水分离器及其分离系统
图片尺寸389x873