油沟怎么画

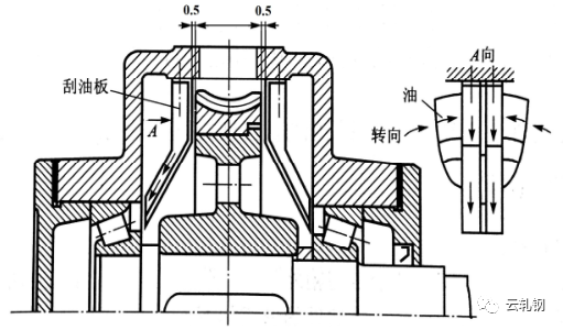
此时机体上不开油沟,为防止机体内润滑油进入轴承稀释润滑脂,应在减速
图片尺寸425x231
手绘油田
图片尺寸610x454
15 回油沟和输油沟3)箱体结构要有良好的工艺性箱体结构工艺性主要
图片尺寸1450x1359
油田插画-正版商用图片1h25sk-摄图新视界
图片尺寸700x712
25 输油沟的形状与加工画法图6.26 轴承配合处轴的结构图6.
图片尺寸752x443
5-2m/s时,油飞溅不起来,这时可采用刮油板润滑.
图片尺寸511x300
多点润滑的长寿命滑动轴承用轴瓦的制作方法
图片尺寸1000x731
浩辰教程机械之减速器俯油蓟嬷
图片尺寸462x350
金秋十一假期完美收官,压油沟爽秋游园季精彩不散场! - 海报新闻
图片尺寸660x818
如图所示的动压向心滑动轴承中,油膜压力分布形状如图中曲线()所示.
图片尺寸333x288
摘要:本实用新型提供了一种双油沟静音式深沟球轴承,属于轴承领域.
图片尺寸400x736
商标logo
图片尺寸302x414
圆锥滚子轴承内圈油沟深度测量仪
图片尺寸531x319
cn202768850u_水轮发电机上下机架油槽密封新结构失效
图片尺寸488x664
矢量插画的油井涌
图片尺寸450x1022
一种改良型轴瓦结构的制作方法
图片尺寸358x443
实用新型一种轴承油沟角度测量仪授权我要购买申请号:cn202023172003
图片尺寸400x333
沟道盖板安装工程检验批质量验收记录_第1页
图片尺寸1754x2479
想要做好机械设计请从画好一张零件图开始
图片尺寸640x310
所述的轴体通道的上端与所述本体的连接处设有储油沟,所述
图片尺寸385x295