油烟罩图片 图纸

不锈钢排烟罩 商用集油烟罩 酒店厨房饭店用抽油烟机
图片尺寸750x392
不锈钢排烟罩 商用集油烟罩 酒店厨房饭店用抽油烟机
图片尺寸750x385
厨房烟罩
图片尺寸1005x681
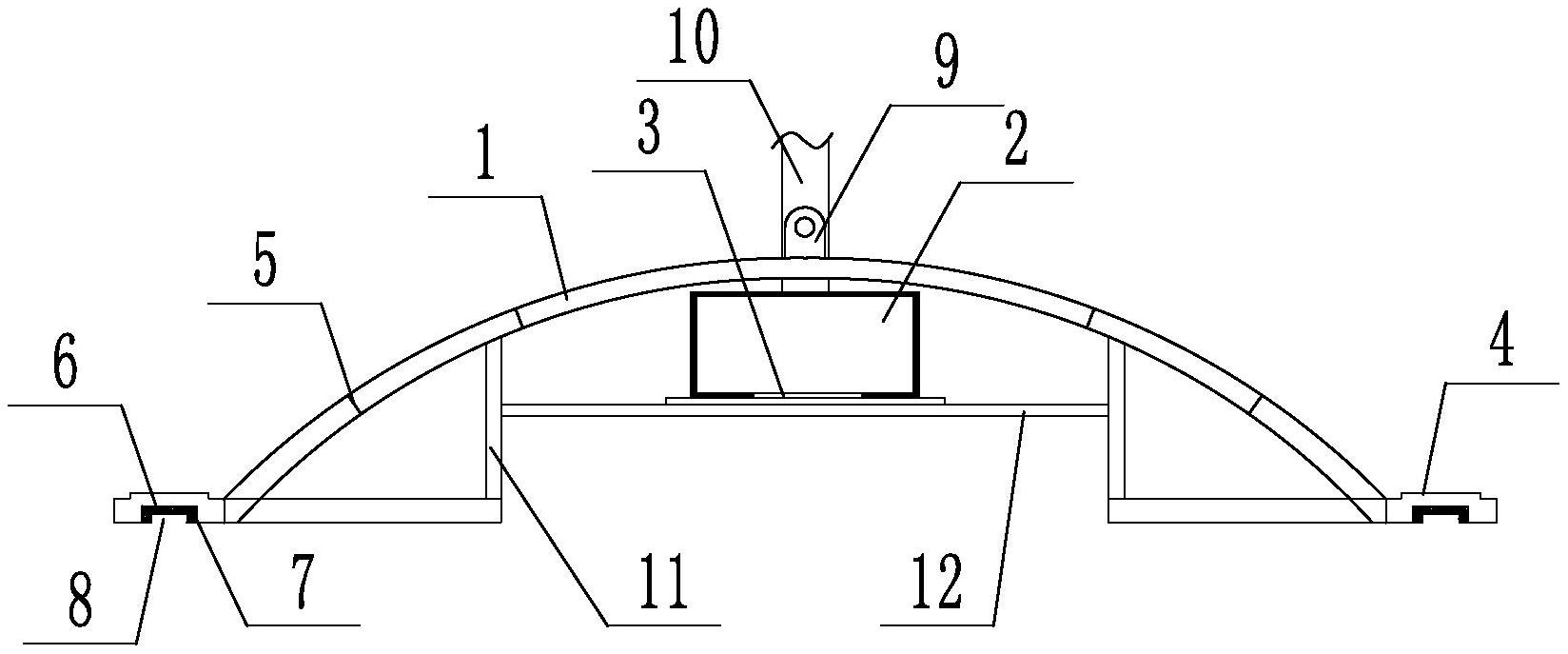
cn101813330a_吸油烟机集烟罩左,右进风可调节装置失效
图片尺寸1964x1555
一种集成烟罩的制作方法
图片尺寸1000x800
一种防倒风集烟罩的制作方法
图片尺寸1000x719
一种自密封防倒烟串味的吸油烟机出风罩制造技术
图片尺寸951x1000
油烟机装饰罩安装结构的制作方法
图片尺寸1000x822
定制不锈钢油烟罩厨房商用饭店家用排烟罩集烟罩餐饮吸烟罩抽烟机
图片尺寸744x800
不锈钢岛式烟罩 - 钣金图纸 - 沐风网
图片尺寸744x687
首页 环保通风 油烟净化一体机 搜索 产品 搜索 点击图片查看原图
图片尺寸702x544
一种用于冶金炉上端的烟罩的制作方法
图片尺寸1000x654
cn304381353s_烟罩有效
图片尺寸821x680
不锈钢排烟罩商用油烟罩饭店食堂酒店厨房简易不锈钢抽油烟机
图片尺寸750x960
一种石墨化炉烟气集气罩
图片尺寸1648x687
除尘器吸风罩设计图纸
图片尺寸1205x812
cn203940491u_一种改进的油烟机出风罩及使用该出风罩的油烟机有效
图片尺寸1000x866
一种组合式集烟罩
图片尺寸1000x424
一种侧吸式风罩的制作方法
图片尺寸780x1000
帅康(sacon)吸油烟机 大吸力中式抽油烟机 cxw-200
图片尺寸750x1216