油缸抽芯的结构图

厂家直销hob拉杆重型液压缸 hob125*56*75-fa铝压铸模抽芯油缸
图片尺寸750x452
一种长滑块油缸抽芯机构的制作方法
图片尺寸397x1000
一种带自锁的油缸抽芯机构及其使用方法技术
图片尺寸688x1000
液压油缸结构图
图片尺寸500x562
液压油缸原理结构图讲解
图片尺寸565x297
多级往复式油缸结构图是哪样的?
图片尺寸720x1560
对于液压油缸的基本认识
图片尺寸893x331
螺纹侧抽芯加油缸抽出3d图这才是经典
图片尺寸700x459
液压缸双向抽芯的模具机构的制作方法
图片尺寸1000x844
油缸 结构
图片尺寸1080x810
塑胶模具设计之经典油缸抽芯案例剖析
图片尺寸545x521
运动仿真油缸圆弧抽芯隧道抽芯
图片尺寸767x529
油缸带动转向滑块抽芯动作机构制造技术
图片尺寸1000x764
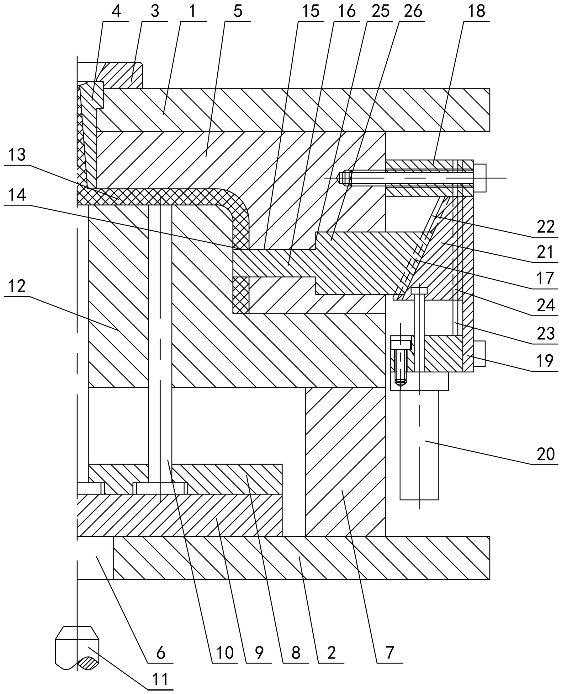
cn212603140u_注塑模具定模外侧油缸下拉斜滑抽芯机构有效
图片尺寸1792x2211
第1页 (共2页,当前第1页) 你可能喜欢 液压缸设计说明书 液压油缸设计
图片尺寸1083x671
看图说话----液压缸装配图
图片尺寸1115x557
经典圆弧油缸抽芯模具结构剖析: 1.连杆圆弧抽芯机构原理 2.
图片尺寸640x480
液压油缸的结构及工作原理
图片尺寸528x344
使用场合:常用于内侧凹凸结构的抽芯.能用斜定不用内行.
图片尺寸618x328
模具结构设计-行位油缸抽芯的选用
图片尺寸1006x486