油路板图纸

油路板cad图纸
图片尺寸704x463
一种用于压铸机的集成压射增压油路板的制作方法
图片尺寸1000x809
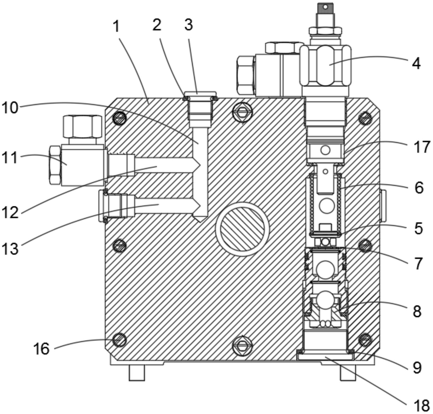
一种电液转辙机集成油路板
图片尺寸1772x1695
油路板下载(182.46 kb,rar格式) 机械cad图纸
图片尺寸695x497
智能集成油路板系统的制作方法
图片尺寸437x443
a1-冷床翻钢油路块.dwg
图片尺寸1200x800
油路板1.dwg
图片尺寸1200x800
油压机油路问题请教!
图片尺寸1280x960
油路块图
图片尺寸801x488
1,油路块亦称为阀板,也叫油路板,可使用mmc型标准油路块也可根据设计
图片尺寸680x429
一种合模油路块装置制造方法及图纸
图片尺寸1000x850
阀块加工(油路板,油路块)
图片尺寸1086x747
油路板工装 - 工装图纸 - 沐风网
图片尺寸691x792
yuken叠加阀基础板_叠加阀基础板 油路块 集成块全国包邮 - 阿里巴巴
图片尺寸1087x433
一种用于控制双腔油缸高速自动变量的液压油路制造技术
图片尺寸1000x983
油路板工装 - 工装图纸 - 沐风网
图片尺寸820x425
液压油路板-阀体图纸-沐风网
图片尺寸397x220
集成油路板配置
图片尺寸402x375
定马6hp19自动变速器5挡油路图
图片尺寸2082x2711
4l)4t45e自动变速器d3挡油路图
图片尺寸1476x2004