沼气火炬结构图

外燃式沼气火炬的制作方法
图片尺寸295x443
一种预混式沼气火炬的制作方法
图片尺寸486x483
一种内燃型沼气火炬的制作方法
图片尺寸666x1000
一种移动式沼气燃烧火炬制造技术
图片尺寸600x1000
一种燃烧充分的沼气火炬的制作方法
图片尺寸1000x837
一种封闭式沼气火炬的制作方法
图片尺寸1000x985
一种具有反吹清灰结构的沼气火炬的制作方法
图片尺寸444x441
一种内燃式沼气火炬制造技术
图片尺寸1000x761
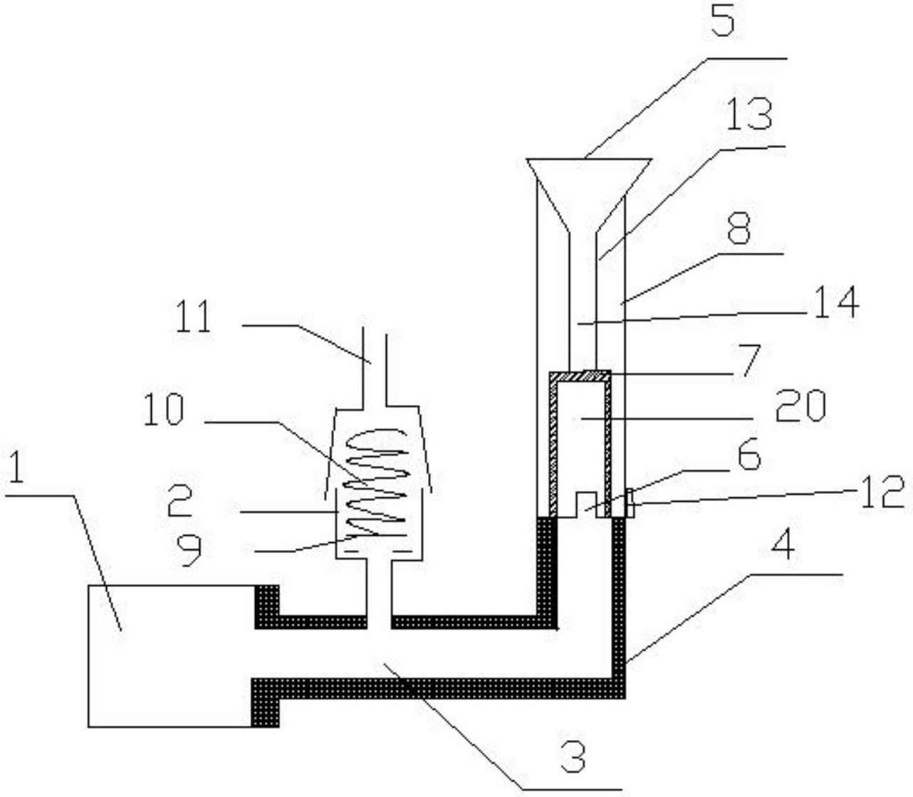
摘要附图摘要本实用新型公开了一种内燃式沼气火炬,其结构由沼气室
图片尺寸1282x1120
封闭式沼气火炬的制作方法
图片尺寸828x1000
新型沼气火炬点火器的制作方法
图片尺寸695x1000
福晟燃烧"一种快速混合式沼气火炬燃烧结构"专利公开-企知道
图片尺寸1000x918
一种无尘沼气放散火炬的制作方法
图片尺寸443x393
cn206755191u_一种沼气燃烧火炬系统有效
图片尺寸1000x533
用于燃烧沼气余气的火炬的制作方法
图片尺寸789x1000
沼气火炬模型图纸合集的封面图
图片尺寸285x428
一种沼气火炬现场施工用警示装置的制作方法
图片尺寸322x443
火炬内焰结构及包含其的火炬
图片尺寸1459x1909
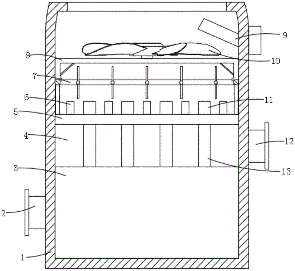
封闭式沼气火炬的结构组成介绍
图片尺寸1242x1905
沼气火炬
图片尺寸600x416