泡泡机内部结构

喇叭,灯,电池仓,自动模式按键结构大致分为几大块:泡泡水储存区,扳机
图片尺寸720x860
【包邮】抖音同款儿童半自动电动泡泡机多孔加特林泡泡枪地摊玩具
图片尺寸790x1112
儿童吹泡泡水简单配方吹泡泡机之拆开看看
图片尺寸720x960
泡泡机的机构图如图片所示
图片尺寸747x767
歌林co-006型咖啡泡茶机使用说明书
图片尺寸1695x2392
泡泡机内部全展示.png
图片尺寸997x461
一种泡泡机的制作方法
图片尺寸1000x844
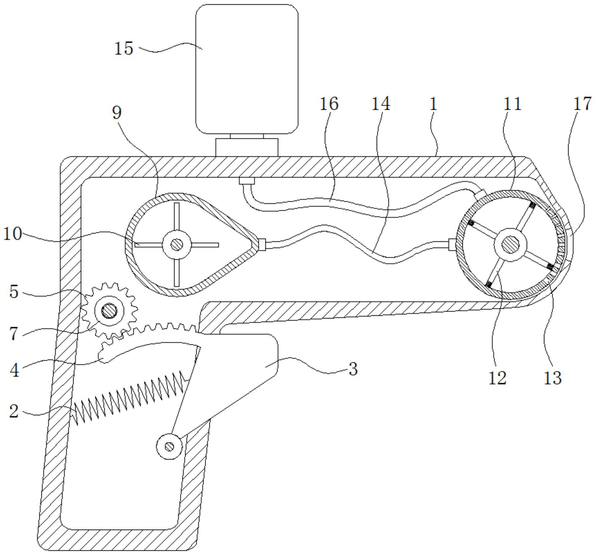
一种基于扫盘旋转涂抹的可调节式泡泡机
图片尺寸1927x1795
只配备一个出泡口;另外,现有的泡泡机大多未配备安装固定结构,只能拿
图片尺寸387x443
一种成泡装置和泡泡机
图片尺寸1689x1911
cn201677384u_矿用防爆水泥发泡机失效
图片尺寸1619x1458![[其他] 火遍抖音的泡泡机拆解](https://i.ecywang.com/upload/1/img2.baidu.com/it/u=175601569,2419596221&fm=253&fmt=auto&app=138&f=PNG?w=997&h=464)
[其他] 火遍抖音的泡泡机拆解
图片尺寸997x464
一种泡泡机的制作方法
图片尺寸590x1000
六一好礼diy泡泡机
图片尺寸706x526
x折腾拆修玩具泡泡机居然得破坏性拆解
图片尺寸1380x1035
吹泡泡机之拆开看看
图片尺寸1080x1290
一种泡泡机的制作方法
图片尺寸932x1000
一种气泡清洗机制造技术
图片尺寸1000x437
一种枪头旋转刮泡的泡泡机制造技术
图片尺寸981x719
一种烟雾泡泡机 - cn201710662713.
图片尺寸1000x773