注塑机构造图解

注塑机原理
图片尺寸1080x810
电动注塑机结构
图片尺寸1200x591
5安斜缸全自动单色油压注塑机
图片尺寸765x593
伺服技术助力传统注塑机走向节能环保新时代
图片尺寸710x451
注塑机ppt
图片尺寸1080x810
注塑机基本特征1ppt
图片尺寸1080x810
图解注塑机的基本组成部分
图片尺寸484x392
注塑机结构简图 注塑模 熔胶 注塑机
图片尺寸1080x720
伯乐解析注塑机基础知识简介一
图片尺寸1120x726
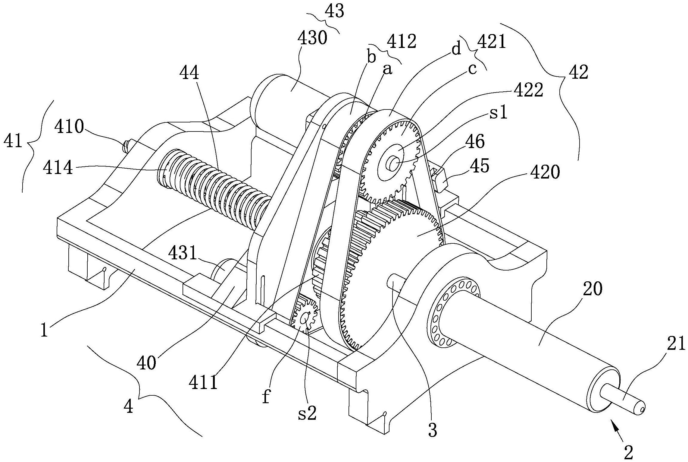
一种射出和加料相互协作的注塑机-爱企查
图片尺寸2284x1532
注塑机的基本结构
图片尺寸618x270
注塑机成型参数影响说明ppt
图片尺寸800x600
注塑机示意图
图片尺寸750x516
菲仕伺服电机&驱动器应用于注塑机
图片尺寸554x295
一种双滑板立式注塑机制造技术
图片尺寸829x1000
一种具有快速精密射台结构的注塑机-爱企查
图片尺寸1966x1879
注塑机工作原理及技术
图片尺寸1080x500
注塑机注射压力设定说明
图片尺寸595x239
注塑机相关知识讲解ppt
图片尺寸1080x810
伯乐解析注塑机基础知识简介一
图片尺寸1120x708