注射器活塞轴

一种小负压引流用注射器活塞轴固定器
图片尺寸443x276
预灌封注射器注射针头刚性活塞滑动性测试仪器是什么
图片尺寸596x400
注射器密合性正压测试仪试验方法_密封_泄漏_活塞
图片尺寸618x472
直销高品质注射器活塞
图片尺寸750x750
注射器用橡胶活塞
图片尺寸627x627
注塑机轴-精密活塞杆-不锈钢光轴-液压活塞杆加工厂家
图片尺寸976x781
注射器密合性负压测试仪(检验器身密合性),注射器活塞推力测试仪(活塞
图片尺寸1075x400
尤其是一种一次性使用精密定量注射器,包括针筒,芯杆及活塞,芯杆上套
图片尺寸1285x1192
整理笔记94认识注射器
图片尺寸1389x1852
35cc活塞注射器
图片尺寸909x695
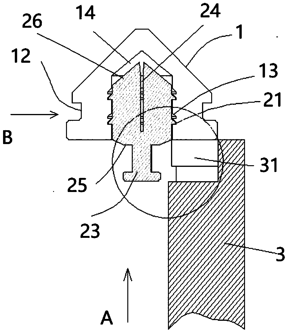
注射器活塞活塞组件及注射器
图片尺寸1226x1417
gb 15810-2019注射器密合性负压测试仪
图片尺寸642x609
150毫升200毫升250毫升300毫升500毫升带导管尖端的大活塞冲洗注射器
图片尺寸750x750
实验室用60ml一次性注射器 独立包装,橡胶活塞,18g 1.
图片尺寸800x800
常州市华伟医疗用品有限公司-注射器橡胶活塞-输液器橡胶制品
图片尺寸276x286
背景技术:现有的注射器基本是由注射筒,活塞和活塞杆组成,注射时用手
图片尺寸302x350
注射针器润滑油
图片尺寸300x300
150毫升200毫升250毫升300毫升500毫升带导管尖端的大活塞冲洗注射器
图片尺寸750x400
注射器针筒活塞卡涩 润滑油该如何选择?
图片尺寸1080x810
常州市华伟医疗用品有限公司-注射器橡胶活塞-输液器橡胶制品
图片尺寸262x268