泵喷推进器图纸

cn2771100y_一种喷水式推进器失效
图片尺寸1417x709
cn102114908a_五元组合船用泵喷水推进器系统失效
图片尺寸2000x1211
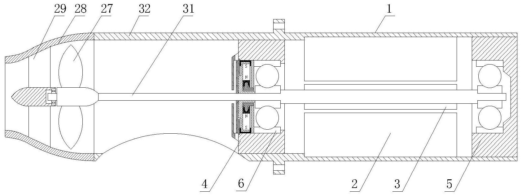
一种无传动轴泵喷推进器
图片尺寸952x980
2 喷水推进器设计与性能分析
图片尺寸1339x1914
是一种有别于螺旋桨推进器的特殊推进方式,一般由进水流道,喷水推进泵
图片尺寸1000x610
本发明涉及水面航行器和水下航行器技术领域,特别是涉及一种喷水推进
图片尺寸1000x452
摘要附图摘要本实用新型公开了一体式电动喷水推进器,喷泵主体前端
图片尺寸1472x1060
一种密封电动喷泵推进器
图片尺寸1685x635
一种泵喷推进器的制作方法
图片尺寸1000x758
喷水推进器的制作方法
图片尺寸1000x461
一体式电动喷水推进器的制作方法
图片尺寸1000x488
一种串列式电机泵喷推进器的制作方法
图片尺寸443x342
一种用于紧凑型轴流式喷水推进器的轴系结构
图片尺寸444x144
diy 喷水推进器
图片尺寸800x450
一种喷水推进泵进水结构的制作方法
图片尺寸560x262
一种带活动式柔性导叶的新型泵喷推进器水力模型及设计方法
图片尺寸443x323
一种矢量喷水推进器控制方法与流程
图片尺寸1000x606
一种自带电调水冷180度双向进水喷射式高速推进器的制作方法
图片尺寸531x271
典型的泵喷推进器的结构
图片尺寸512x233
远远超过简单的泵,它们是完整的,集成的船舶推进系统.
图片尺寸720x361