泵的画法简图

离心泵的图标
图片尺寸1200x1091
一种单级可拆卸式离心泵-爱企查
图片尺寸1792x1331
泵简图.jpg
图片尺寸758x390
离心泵的图标
图片尺寸900x1200
离心泵的图标
图片尺寸1100x1181
一种离心泵
图片尺寸1000x519
高压泵-爱企查
图片尺寸2007x1695
一种防止堵塞的污水处理用清洗泵的制作方法
图片尺寸443x321
节流潜水排污泵的制作方法
图片尺寸489x1000
管道泵图
图片尺寸621x367
各类泵及阀门的画法
图片尺寸400x346
一种无堵塞机泵
图片尺寸1799x1749
增压泵
图片尺寸3780x2126
一种往复循环的离心式水泵
图片尺寸1294x1461
增压泵和自吸泵的区别
图片尺寸689x391
一种水循环增氧泵的制作方法
图片尺寸1000x834
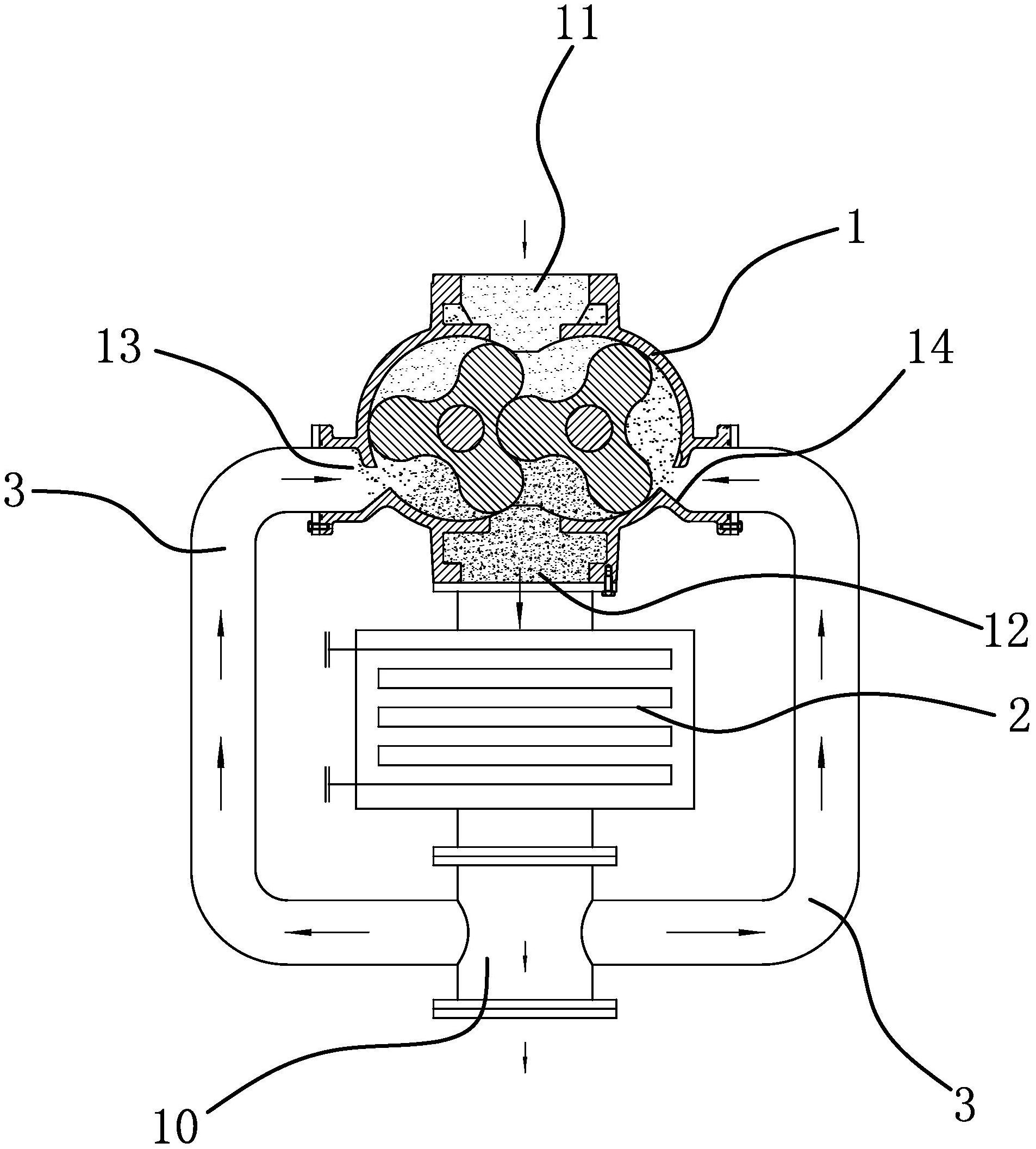
一种气冷式高压差罗茨泵
图片尺寸1906x2114
图1-64 各种旋转泵简图
图片尺寸970x618
一种防堵塞潜水电泵-爱企查
图片尺寸1552x2759
一种消防水泵
图片尺寸772x1211