洒水器结构

一种淋浴器-爱企查
图片尺寸1784x2716
花洒怎么拆开清洁?搜遍全网,也找不到的清垢花洒头拆解图文教程
图片尺寸761x829
一种具有喷枪水结构的花洒
图片尺寸1979x1984
一种按摩花洒出水结构及按摩花洒头的制作方法
图片尺寸444x247
商标logo
图片尺寸800x564
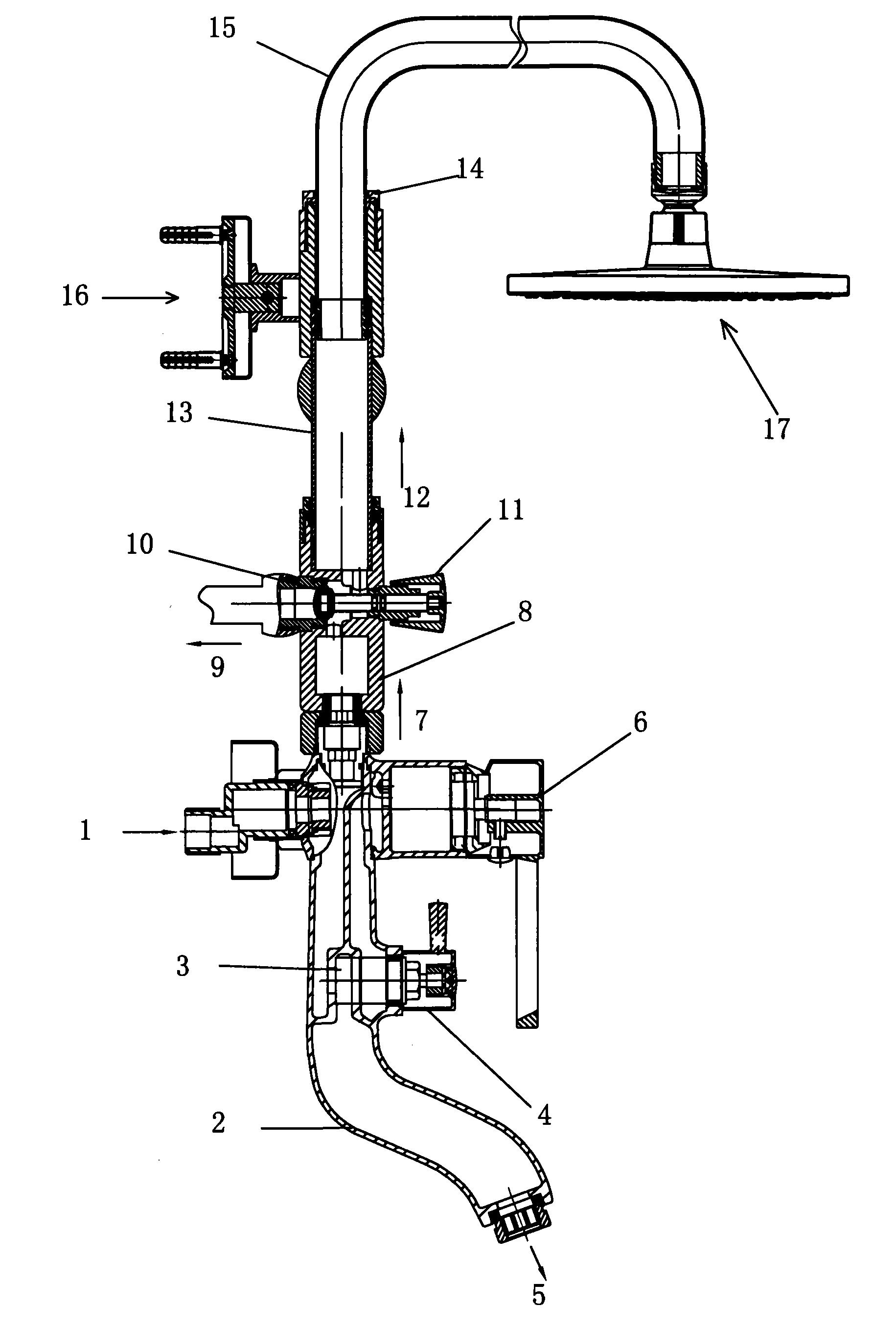
淋浴器管路结构及淋浴器-爱企查
图片尺寸800x560
一种园林喷药洒水器-爱企查
图片尺寸1689x2228
一种新型结构的四功能淋浴器的制作方法
图片尺寸636x1000
九牧特卖jomoo九牧分体双花洒淋浴器带置物台
图片尺寸750x574
器的清洁精密设备和电子元件的清洗在各种清洗设备中清洗水箱应用实例
图片尺寸595x652
全塑手扣式喷雾器及装配方法
图片尺寸1600x2439
一种便于控制喷水量的喷洒器
图片尺寸444x345
cn213051121u_一种可拆卸按摩花洒
图片尺寸1861x1818
cn102872988a_一种动感按摩水花洒有效
图片尺寸1000x985
一种陶瓷洒水壶的制作方法
图片尺寸1000x818
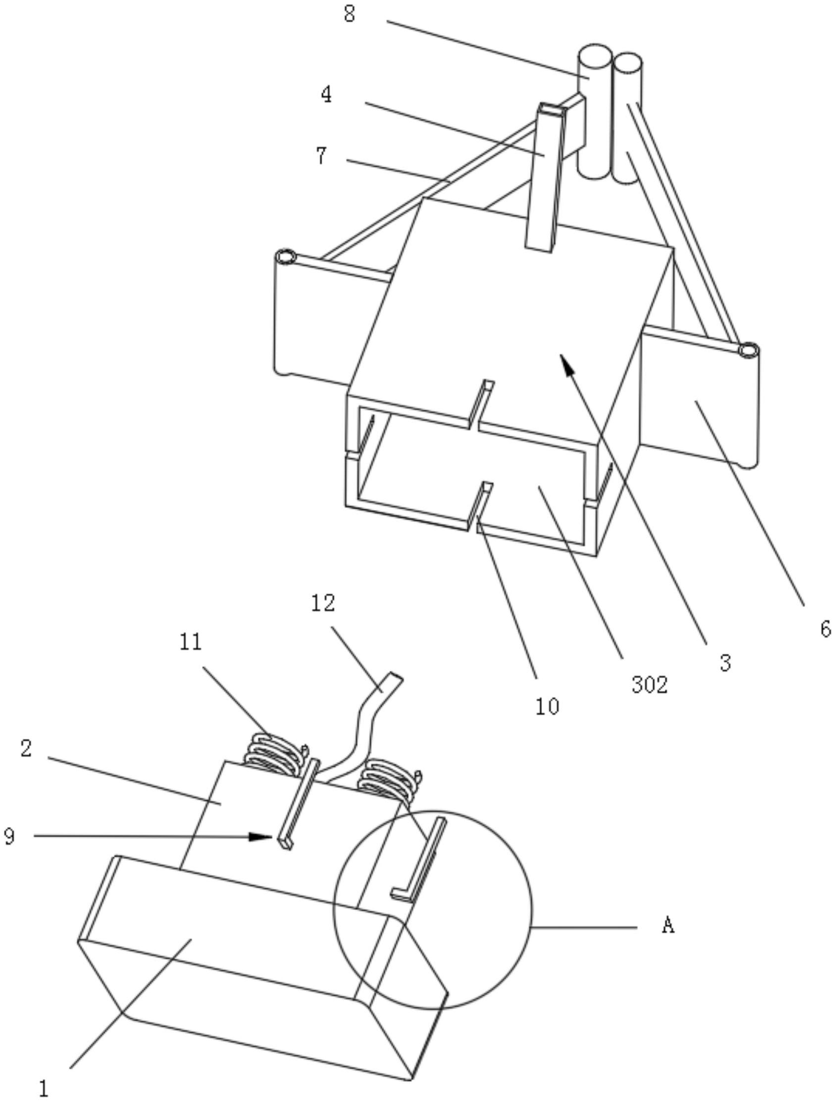
一种自摇摆双管洒水器的制作方法
图片尺寸1000x656
单管喷雾器
图片尺寸440x654
一,花洒的构成
图片尺寸978x764
一种实现油水分离的洒水器传动结构的制作方法
图片尺寸844x1000
花洒头一般结构分内部和外部,外部结构主要有本体,面盖,出水套,螺丝盖
图片尺寸720x437