洗瓶机结构图

旋转型洗瓶机设计(全套设计图纸 说明书)
图片尺寸819x579
新型西林瓶超声洗瓶机制造技术
图片尺寸942x1000
单端洗瓶机结构图ppt
图片尺寸1080x810
所有分类 工程科技 机械/仪表 自动洗瓶机设计 机械总体结构设计
图片尺寸736x415
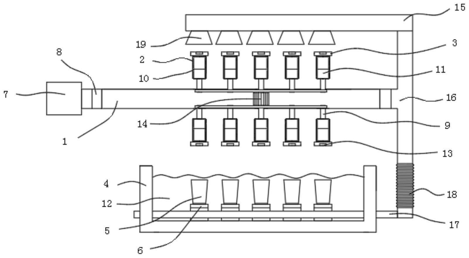
cn106424049a_一种倒立间歇式洗瓶机失效
图片尺寸820x448
洗瓶机构设计
图片尺寸820x579
cn201098694y_一种去油洗瓶机失效
图片尺寸2682x1661
单端洗瓶机结构图ppt
图片尺寸1080x810
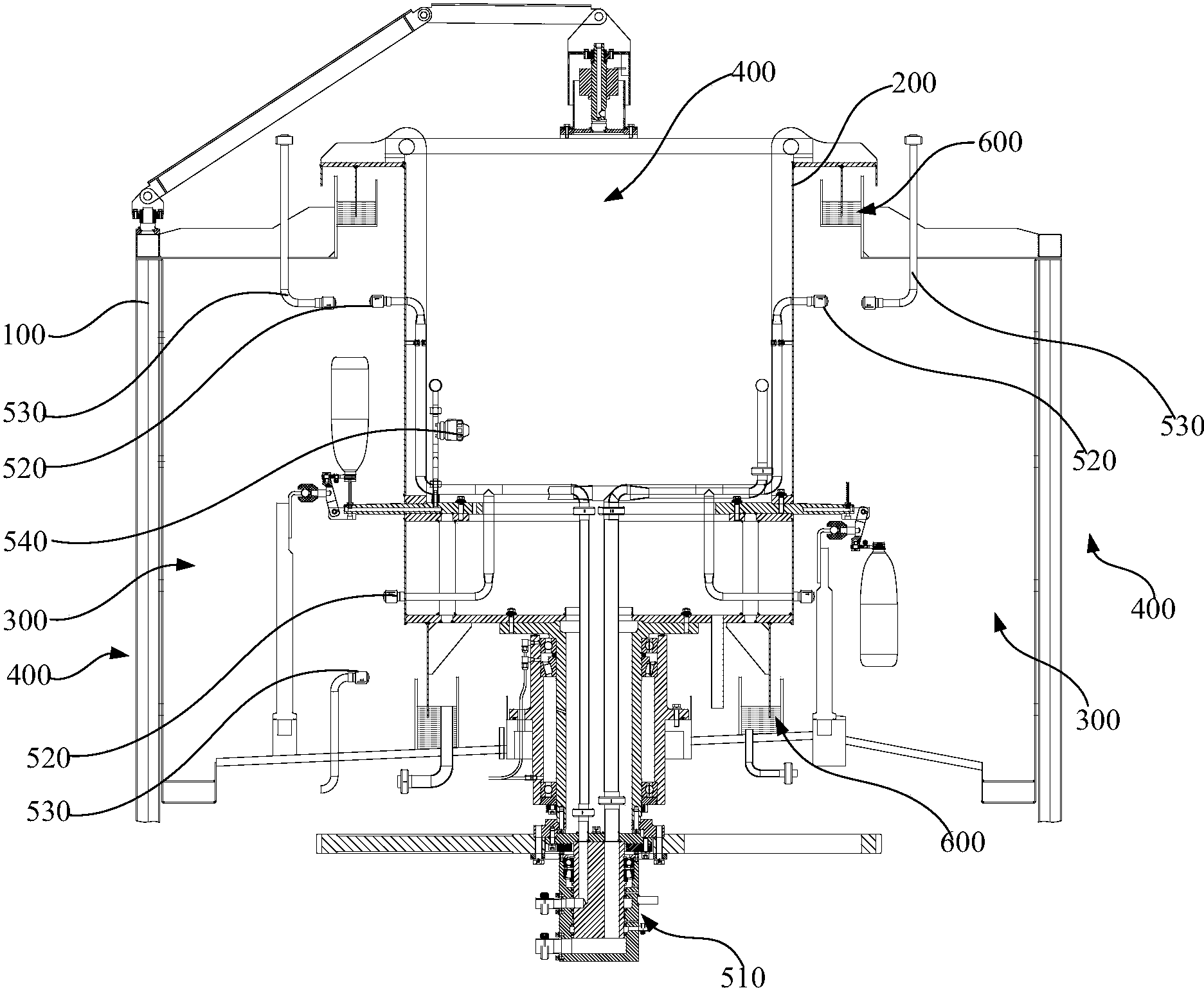
一种倒立间歇式洗瓶机制造技术
图片尺寸448x820
洗瓶机的制作方法
图片尺寸742x1000
qck80型立式超声波洗瓶机
图片尺寸600x400
单端洗瓶机结构图ppt
图片尺寸1080x810
洗瓶机制造技术
图片尺寸1000x824
一种合剂超声波洗瓶机制造技术
图片尺寸1000x816
nfcsbxp-300 高速西林瓶超声波洗瓶机
图片尺寸1280x853
洗瓶机设计
图片尺寸741x352
cn203830374u_一种洗瓶机进瓶机构有效
图片尺寸712x1000
洗瓶机结构设计毕业论文演讲ppt
图片尺寸1080x810
16头洗瓶机技术图纸
图片尺寸820x339
一种具有冲洗刷装置的自动洗瓶机制造方法及图纸
图片尺寸1000x429