洗瓶机设计

洗瓶机的环保设计,你了解多少?_循环_管理_进行
图片尺寸1770x1243
洗瓶机的设计,简洁而不简单
图片尺寸720x505
全自动洗瓶机:食品安全检测中的应用
图片尺寸1770x1243
cn101157085b_直线式超声波洗瓶机有效
图片尺寸2938x1145
一种饮料生产厂用饮料瓶洗瓶机的制作方法
图片尺寸1000x820
立式超声波洗瓶机-爱企查
图片尺寸1924x1465![a330-啤酒瓶洗瓶机的设计[含sw三维图]-机械机电-龙图网](https://i.ecywang.com/upload/1/img2.baidu.com/it/u=1629148596,777866932&fm=253&fmt=auto&app=138&f=JPEG?w=771&h=500)
a330-啤酒瓶洗瓶机的设计[含sw三维图]-机械机电-龙图网
图片尺寸995x645
hs60动物饮水瓶清洗机/洗瓶机,轻便开关门设计,关门即洗,没有复杂操作
图片尺寸1597x1600
j556-旋转型洗瓶机设计啤酒瓶清洗机结构cad图纸
图片尺寸1212x866
新型西林瓶超声洗瓶机制造技术
图片尺寸942x1000
一种翻转式洗瓶机-爱企查
图片尺寸1863x1545
洗瓶器洗瓶机
图片尺寸530x397
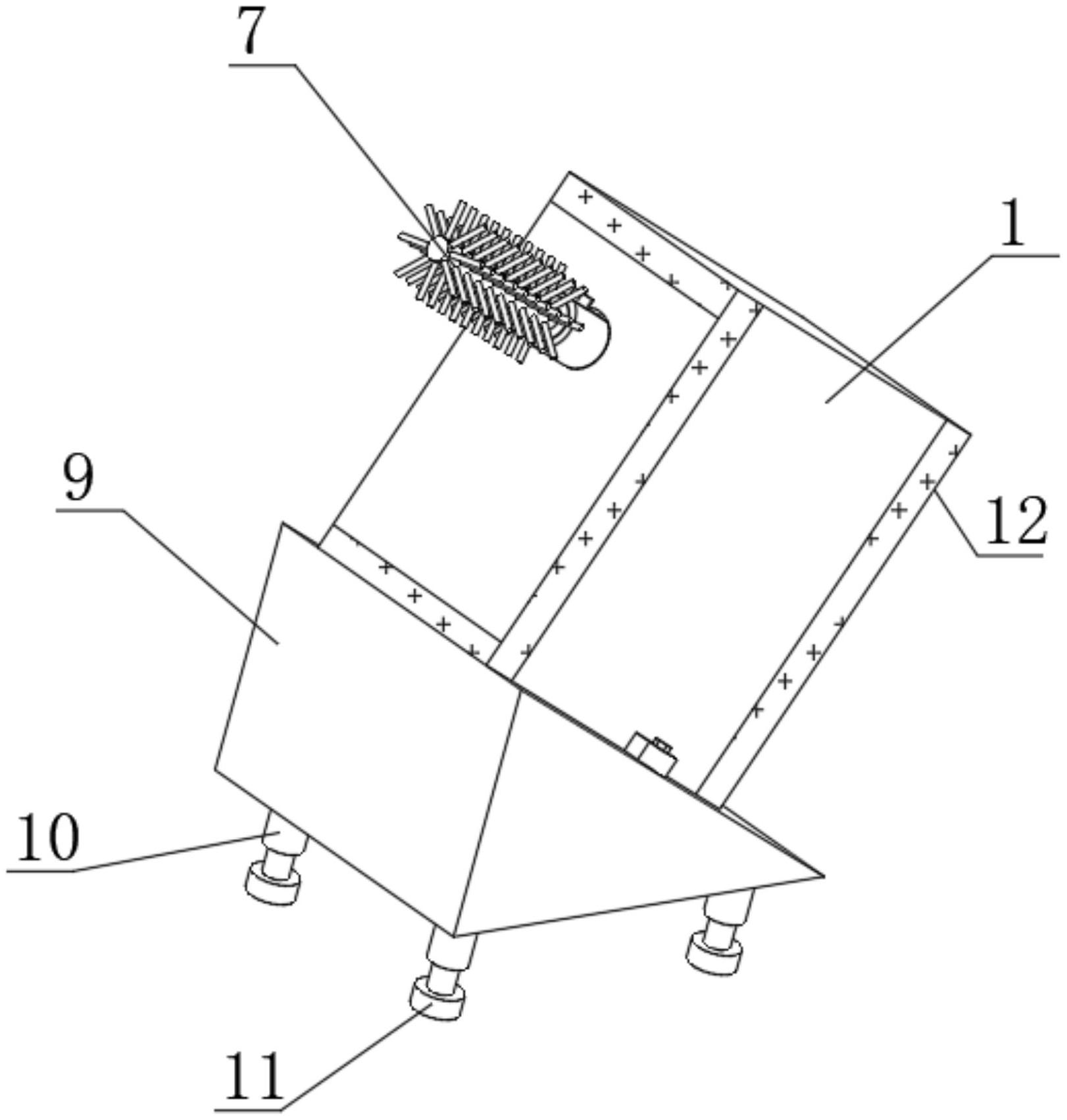
一种便于清理的洗瓶机-爱企查
图片尺寸1622x1702
一种安瓿瓶超声波清洗机的制作方法
图片尺寸443x360
dwg 啤酒瓶洗瓶机设计说明书.doc 机架.dwg 洗刷棍.dwg 设计图
图片尺寸900x594
一种塑料瓶洗瓶机的制作方法
图片尺寸1000x752
一种用于饮料灌装生产线上饮料机械的洗瓶机
图片尺寸1784x1091
自动洗瓶机的制作方法
图片尺寸1000x629
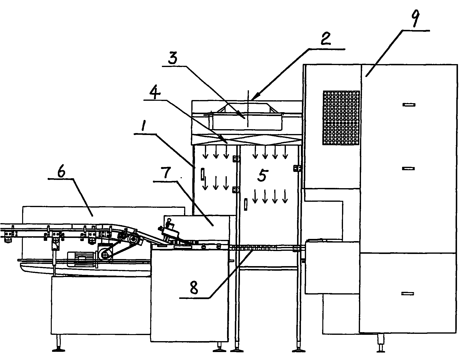
cn201529653u_洗瓶机出瓶到烘箱层流保护装置有效
图片尺寸1917x1491
cn201419176y_一种清洗钢瓶表面的柔性洗瓶机失效
图片尺寸1792x1957