洗眼器结构图

浸塑abs复合式洗眼器
图片尺寸500x748
复合式洗眼器xyqf
图片尺寸789x486
洗眼器壁挂式洗眼器sysbel壁挂式不锈钢洗眼器无盆型wg7020
图片尺寸358x412
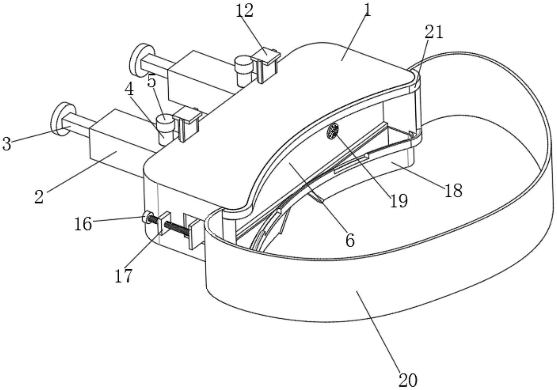
一种医用洗眼器的制作方法
图片尺寸596x1000
复合式洗眼器
图片尺寸528x460
洗眼器台式移动单口洗眼器jm6355河北洗眼器
图片尺寸607x838
简易洗眼器的制作方法
图片尺寸922x1000
一种喷泉结构洗眼器-爱企查
图片尺寸1899x1483
厂家供应 台式双口洗眼器 双口洗眼器 洗眼器
图片尺寸750x1000
绿头 台式移动双口洗眼器 紧急洗眼器 台式双口洗眼器 深圳洗眼器
图片尺寸358x374
洗眼器 不锈钢紧急喷淋洗眼器6611北京洗眼器 实验室洗眼器 验厂用洗
图片尺寸400x614
匠合jhy068移动式洗眼器便携式洗眼器推车式洗眼器实验室洗眼器
图片尺寸800x800
台式移动单眼洗眼器(铜座)
图片尺寸265x337
cn201743905u_洗眼器有效
图片尺寸800x955
科普洗眼器的安装小知识
图片尺寸545x577
cn213589023u_一种眼部结膜囊冲洗器有效
图片尺寸1876x1316
便携式洗眼器的制作方法
图片尺寸741x1000
apeg-d-1p-fr氟利昂((制冷剂)卤代烷烃)检测仪_仪器仪表栏目_机电之家
图片尺寸672x583
洗眼器复合式洗眼器sysbel复合式洗眼器无盆型wg7050fy
图片尺寸273x448
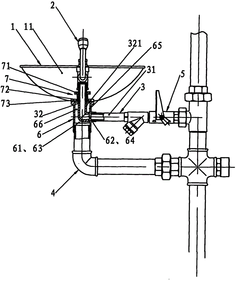
一种眼科护理用冲洗器的制作方法
图片尺寸444x363