洗砂污水处理罐结构

石英砂活性炭树脂罐多介质不锈钢碳钢机械过滤器工业水养殖水河水xyjx
图片尺寸777x771
洗沙废水处理设备
图片尺寸600x197
砂滤罐
图片尺寸316x320
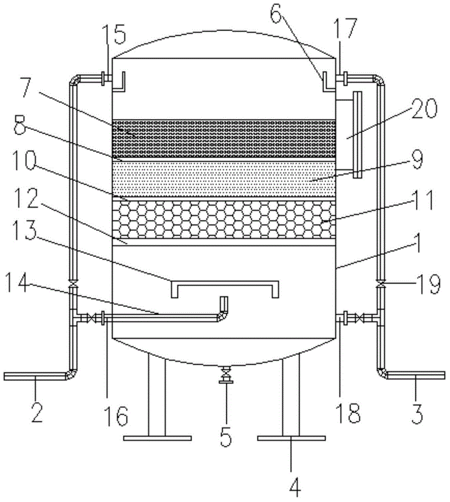
本实用新型公开了一种带反洗功能的砂滤罐,其外部结构主要包括罐体
图片尺寸897x1000
污水罐结构示意图
图片尺寸407x577
锰砂过滤器的介绍及清洗注意事项__财经头条
图片尺寸620x367
连续砂滤罐
图片尺寸426x450
西丽地下水除铁锰过滤器 锰砂过滤罐 井水过滤器 黄锈水过滤
图片尺寸777x608
高效微生物污水处理罐
图片尺寸1464x1670
机械过滤器碳钢衬胶不锈钢水处理净化石英砂活性炭锰砂无烟煤
图片尺寸698x508
崇左砂石过滤器全自动砂石过滤器格莱欧
图片尺寸700x448
马山天然锰砂水处理预处理地下水除铁除锰过滤去黄过滤器罐滤料
图片尺寸544x405
简化了水处理工艺流程,占地面积小,结构简 单,安装操作灵活方便.
图片尺寸537x622
砂滤罐体结构及渗滤液处理系统
图片尺寸1520x1560
硅磷晶罐是硅磷晶水处理中不可缺少的一种装置,通常安装在减压阀,泄压
图片尺寸800x1124
单层框架结构污泥脱水机房图
图片尺寸675x430
砂滤罐结构图
图片尺寸500x375
中国污水处理工程网 技术转移 >> 正文 申请日2007.02.
图片尺寸2106x2727
石英砂过滤器的罐体结构对比
图片尺寸307x246
处理效果除砂直径:>0.1mm; 出水浊度:≤10度; 水头损失: 0.
图片尺寸750x480