活塞裙部设计

适用于 toyota 3c活塞 丰田活塞 3c 活塞 13101-64150 piston
图片尺寸1920x1920
汽车,活塞裙部是指哪个位置,最好是裙部那位置画个圈因为这样我看的
图片尺寸480x800
发动机活塞基本结构
图片尺寸600x309
长城4g63s活塞 smw250752活塞 mitsubishi 63s piston
图片尺寸1920x1920
适用于 toyota 3c活塞 丰田活塞 3c 活塞 13101-64150 piston
图片尺寸1920x1920
用catia做活塞连杆组总成的零件设计
图片尺寸640x466
康明斯活塞裙部 39667213966721
图片尺寸700x627
椭圆异型销孔结构活塞
图片尺寸444x370
摆体式活塞
图片尺寸1600x1065
机油燃烧,活塞裙部磨损,气缸壁磨损凹槽
图片尺寸640x432
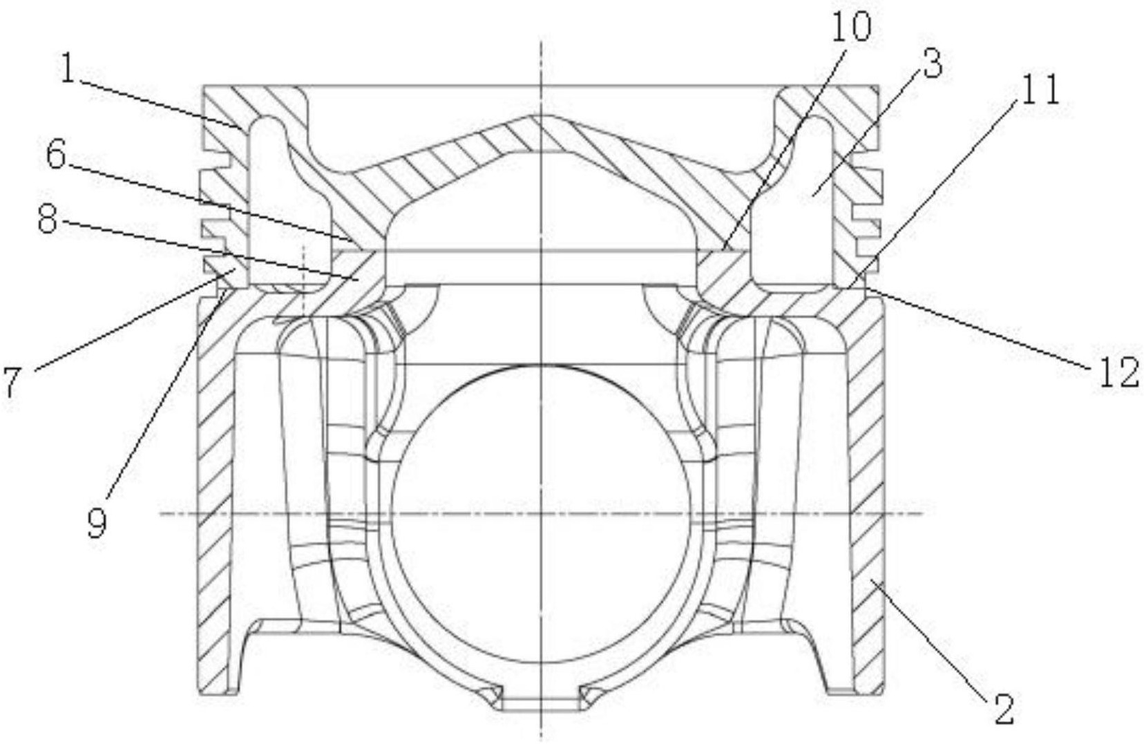
一种焊接式整体锻钢活塞及其制造工艺
图片尺寸1656x1077
活塞与连杆的组装1ppt
图片尺寸1080x810
适用于 东风日产 新阳光hr15de活塞 nissan 12010-3aa0a piston
图片尺寸1920x1920
活塞3d模型(有限元分析)_catia设计_catpart格式文件下载
图片尺寸800x600
发动机活塞连杆组活塞详解
图片尺寸549x402
发动机活塞烧化什么原因造成的
图片尺寸708x534
蓝畅科普遇到活塞环的故障用这几招挺灵的
图片尺寸512x384
辉门动力总成通过新型活塞裙部涂层提升活塞耐用性
图片尺寸730x669
很实用的活塞连杆总成cad设计图纸
图片尺寸858x608
在对活塞进行wpc处理之后,还在活塞顶部加入了三层陶瓷组成的隔热涂层
图片尺寸640x523