活性炭吸附塔设计图纸

活性炭吸附塔结构图.doc 2页
图片尺寸792x1120
活性炭吸附塔流程-大千净化提供
图片尺寸503x393
某公司活性炭废气吸附塔设备cad图纸
图片尺寸610x861
活性炭吸附塔1000x1000x1000下载(74.66 kb,dwg格式) 机械cad图纸
图片尺寸686x479
活性炭吸附塔-活性炭废气吸附塔
图片尺寸455x472
dr-9000m06/h废气处理活性炭吸附塔
图片尺寸811x580
一种大风量多层并联便捷式活性炭吸附塔的制作方法
图片尺寸931x1000
活性炭吸附塔cad图纸
图片尺寸1012x752
活性炭废气吸附塔设备制作图纸
图片尺寸546x665
一种活性炭吸附塔的制作方法
图片尺寸1000x718
一种具有杀菌功能的活性炭吸附塔的制作方法
图片尺寸611x1000
某公司活性炭废气吸附净化塔设备设计cad制作图纸甲级院设计
图片尺寸610x861
三:pp活性炭吸附塔原理有机废气气体由风机提供动力,正压或负压进入
图片尺寸580x256
某公司活性炭废气吸附塔设备施工图
图片尺寸1312x645
dn1900活性炭废气吸附塔设备制作图- 环保图纸 - 沐风网
图片尺寸820x391
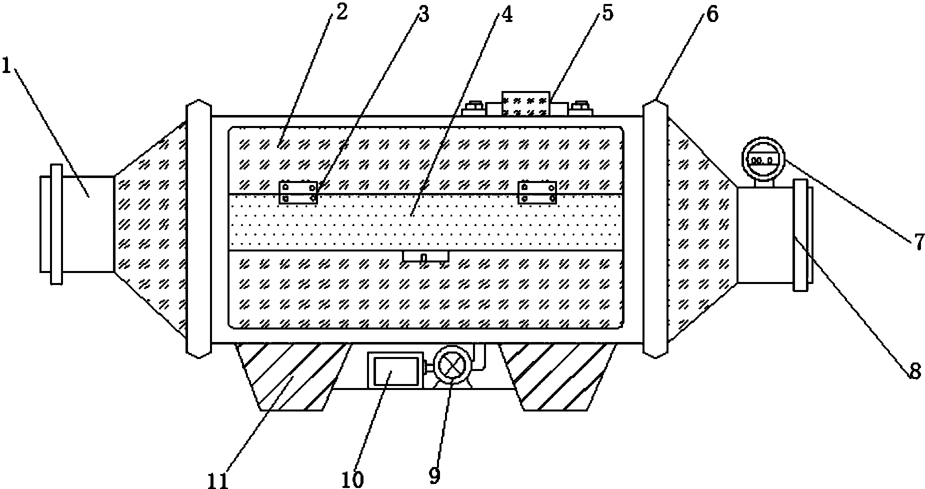
cn207187425u_一种烟气净化专用的高效活性炭吸附塔有效
图片尺寸1850x978
活性炭吸附净化设备 废气洗涤流程简介: 废气经由填充式洗涤塔,采气
图片尺寸482x420
多功能低成本废气处理净化设备活性炭吸附塔
图片尺寸850x300
活性炭吸附塔cad图纸
图片尺寸353x249
活性炭吸附塔免费下载 - 环保图纸 - 土木工程网
图片尺寸303x250