活页夹结构原理
图片尺寸2388x1505
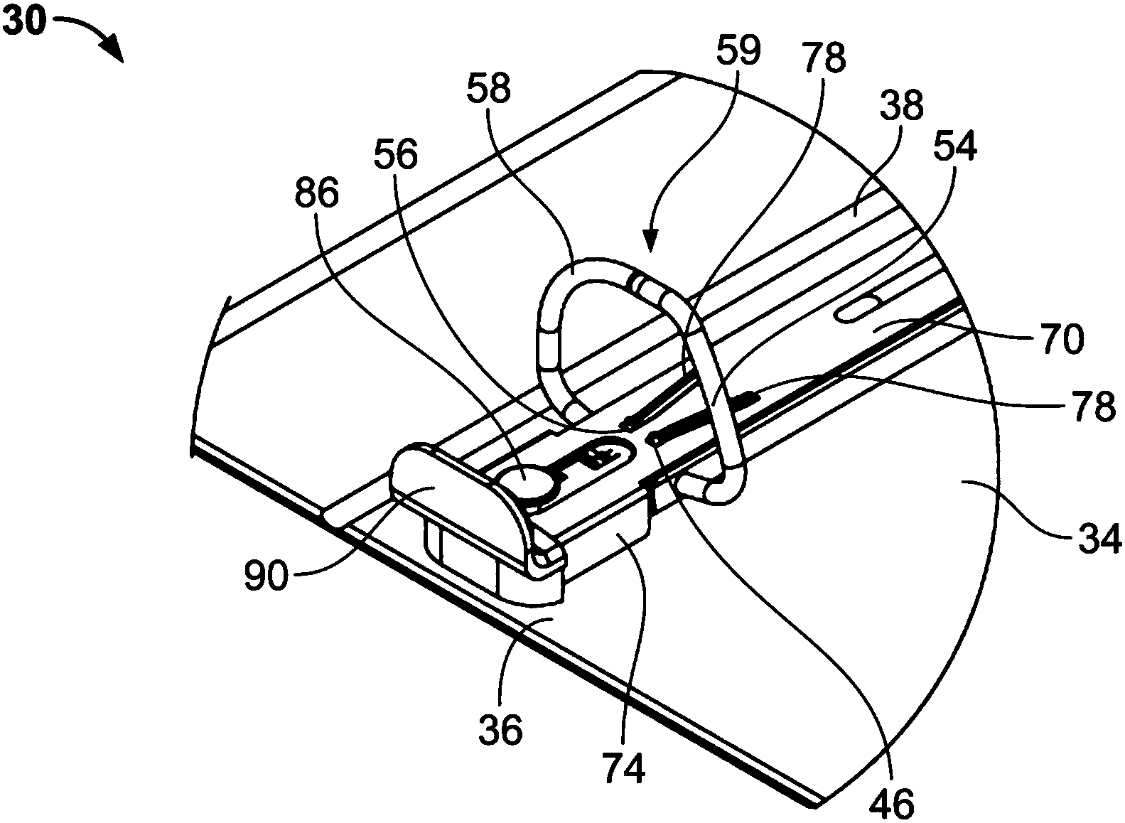
具有双时间缓冲timebuffer的致动器的环形活页夹机构
图片尺寸2560x1788
一种活页簿夹的制作方法
图片尺寸1000x952
一种金属活页装订夹的制作方法
图片尺寸1000x771
一种能够快速开合的活页夹的制作方法
图片尺寸810x1837
活页夹机构及用于活页夹的活页夹机构
图片尺寸1583x1158
活页夹
图片尺寸1507x1568
工装夹具设计全攻略:从入门到精通
图片尺寸1080x1410
活页夹的的装订构件
图片尺寸417x1280
环式活页夹装置
图片尺寸2649x1822
活页夹的那些事儿:剪刀夹,固力夹和推拉杆
图片尺寸750x1045
捕兽夹,门闩的工作原理图,大概也是越画越过瘾吧:画了做子弹,清洁枪管
图片尺寸1080x652
一种环式活页夹结构
图片尺寸572x1143
产品名称:大功率摆动夹具
图片尺寸1041x3791
一种高灵敏捕鼠夹
图片尺寸1938x1326
hingebladestructure
图片尺寸1709x2698
一种可拆卸纱窗合页的制作方法
图片尺寸1504x2316
1004 老鼠夹大号中号双簧铁板老鼠笼 金属捕鼠器 灭老鼠捕鼠器 捉鼠夹
图片尺寸800x663
片簧夹子
图片尺寸1184x1445
工装夹具设计全攻略:从入门到精通
图片尺寸1080x1410