流水线工位排布图

作业工位和喷涂生产线的制作方法
图片尺寸846x1000
跪请高手解答-关于已知流水线若干工位,n种工件,不同工件在不同工位
图片尺寸978x663
电机流水线图
图片尺寸1161x781
锂电池pack生产线有哪些工位和设备组成?
图片尺寸1157x372
图1 汽车半轴自动化伺服数控锻造生产线布置总图
图片尺寸1000x797
工位可设计不同系列的 b> a target="_blank" href="/item/流水线
图片尺寸499x308
工位流水线布置图
图片尺寸820x466
如图,请问工位好坏的顺序如何?
图片尺寸1073x604
能帮我看看我的工位坐那里好吗
图片尺寸505x528
流水线设备工位节拍解析
图片尺寸523x481
一种生产车间的工位布局的制作方法
图片尺寸1000x526
工位图
图片尺寸660x931
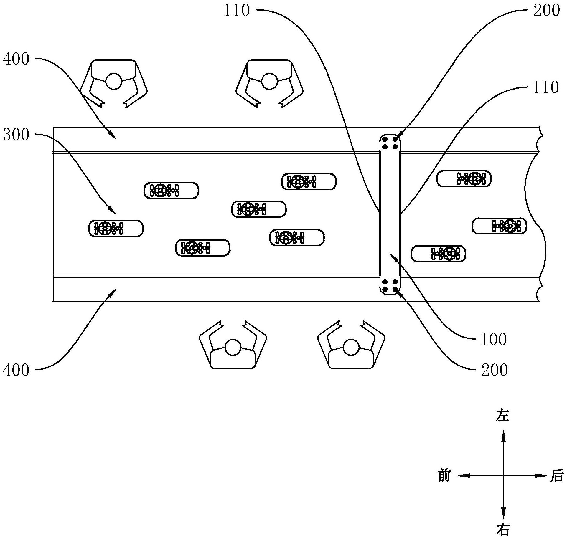
流水线工位隔离装置及流水线
图片尺寸1924x1830
非流水线明确所在的车间:底色为绿色(区别工位标识)2
图片尺寸470x557
茅台酒的生产线,两个人的工位安排了十个人,没事干的工人闲得打瞌睡!
图片尺寸932x1280
双工位防护栏自动焊接机器人工作站技术方案-品超智能_设备
图片尺寸734x499
生产线工位设计
图片尺寸700x390
东二环超强地标,倍格创业工位热招ing
图片尺寸2482x1763
工位描述
图片尺寸820x391
辊筒外网可采用镍网或不锈钢丝网,不同工位镍网或不锈钢丝网有互换性.
图片尺寸1227x586