流量开关结构图

流量开关结构示意图
图片尺寸724x512
流量开关
图片尺寸1875x1485
流量开关在还原炉冷却水中的应用
图片尺寸405x379
一种消防管道专用的流量开关-爱企查
图片尺寸1525x1040
一种热差式流量开关
图片尺寸1561x1502
水流量开关
图片尺寸750x417
水用数字式流量开关产品结构图
图片尺寸562x313
流量开关原理以及动图演示
图片尺寸474x358
一种高灵敏度消防流量开关的制作方法
图片尺寸823x1000
cn209447736u_一种隔爆型流量开关
图片尺寸1000x986
所有行业 电气设备与耗材 开关 流量开关 5.结构描述: 1.
图片尺寸740x417
一种隔爆型流量开关
图片尺寸1000x986
流量开关
图片尺寸450x263
流量开关的安装操作说明
图片尺寸800x356
全新smc流量开关水用pf3w540f041t应用范围
图片尺寸419x224
400x流量控制阀工作原理,调试方法,使用说明
图片尺寸512x378
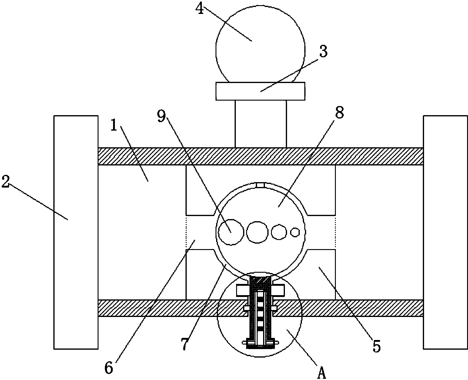
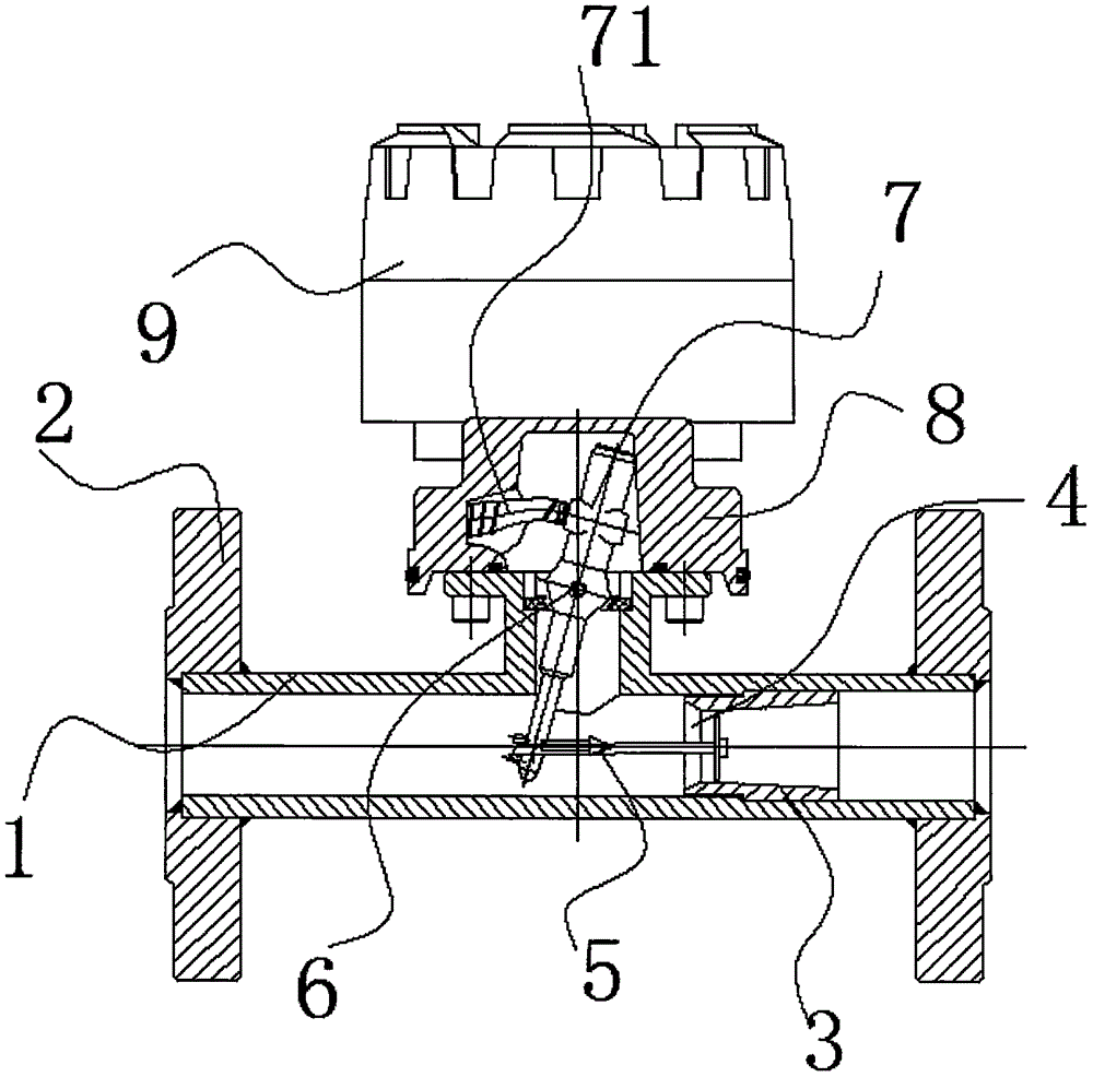
本实用新型公开了一种智能流量开关,包括壳体,所述壳体为中空结构,且
图片尺寸1544x1254
1寸wfs22025ba新型挡板式流量开关水流量开关水流开关把片式
图片尺寸750x588
流量开关工作原理动画图
图片尺寸299x279
txwf16系列防爆流量开关
图片尺寸939x732