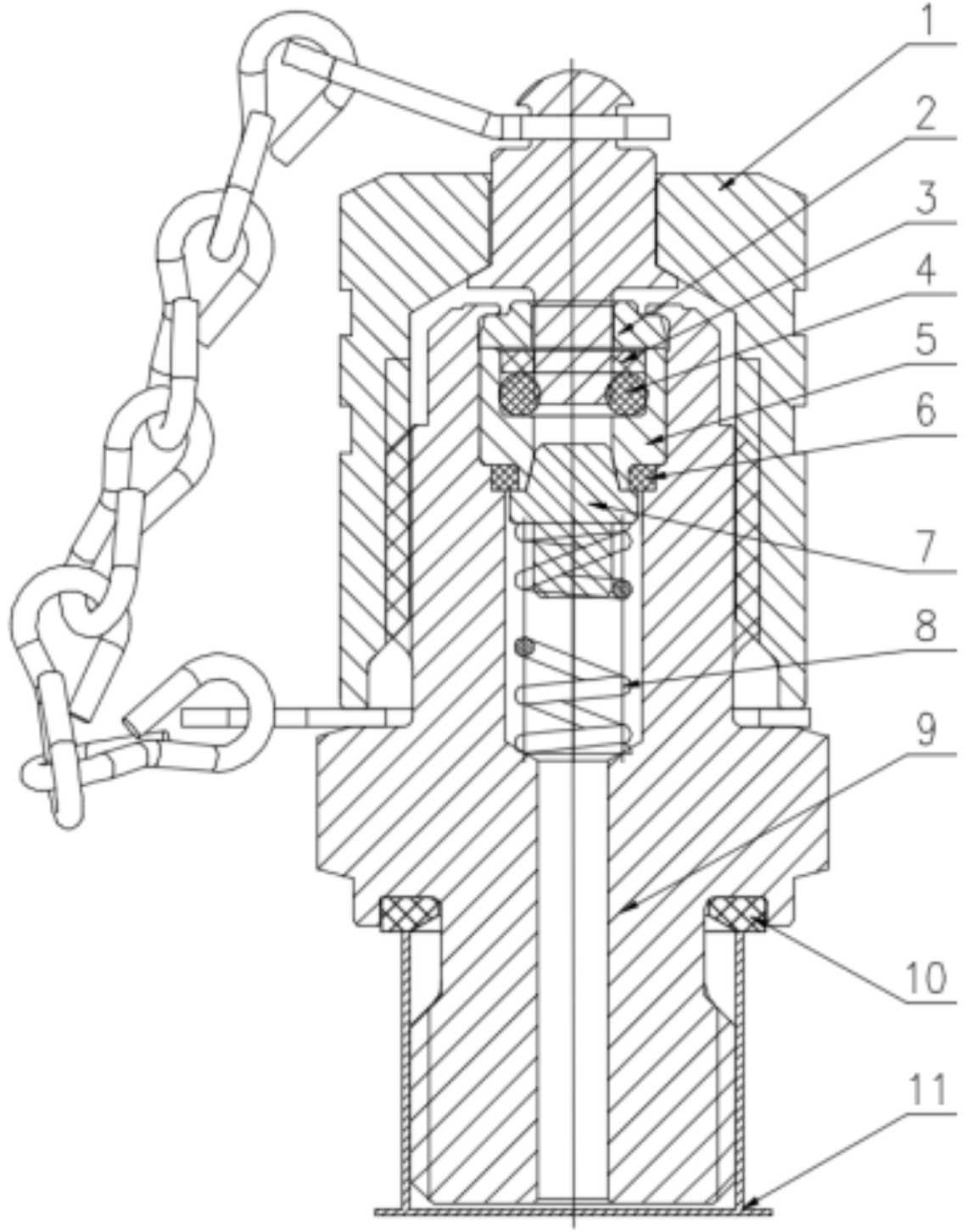
测压接头结构

一种整体式锥面密封测压接头-爱企查
图片尺寸971x1428
背景技术:目前,测压接头的内部结构有球密封,活塞密封,锥密封等几种
图片尺寸789x1000
微型高压测压接头
图片尺寸700x283
cn204239386u_一种测压用三通接头有效
图片尺寸830x1000
一种带排气孔的活塞式测压接头的制作方法
图片尺寸954x1000
一种整体式平面密封测压接头-爱企查
图片尺寸1147x1453
cn105971980a_一种用于自动化机床液压油缸的测压接头失效
图片尺寸472x327
一种空调压缩机用密封接头的测压结构的制作方法
图片尺寸507x423
结构不同格雷希尔气动接头主要结构分为接头外部主体,气动活塞,密封圈
图片尺寸1244x658
本文为测压接头的说明书,其结构,原理,型号上面都有!
图片尺寸1700x2147
上海调压中压可检测卡套管接头和转换接头 - 上海调压实业有限公司
图片尺寸1131x1600
供应mcs测压接头
图片尺寸350x319
测压胶管测压接头
图片尺寸800x800
510000,520000,530000,540000,测压接头
图片尺寸800x1074
一种带排气孔的活塞式测压接头-爱企查
图片尺寸1449x1518
一种具有泄压功能的快速接头的制作方法
图片尺寸444x242
gnoeu进口测压接头哪里有上海总代直销
图片尺寸718x892
发明油泵车用的自封接头公开我要购买申请号:cn202010290432.
图片尺寸443x228
pt系列微型高压测压接头
图片尺寸950x784
本文为测压接头的说明书,其结构,原理,型号上面都有!
图片尺寸1700x2148