浓缩罐 结构

舜甫双效浓缩罐的工作原理及安装试调
图片尺寸600x400
jn50-2000系列真空浓缩罐
图片尺寸500x419
球形浓缩器的维护与保养
图片尺寸500x466
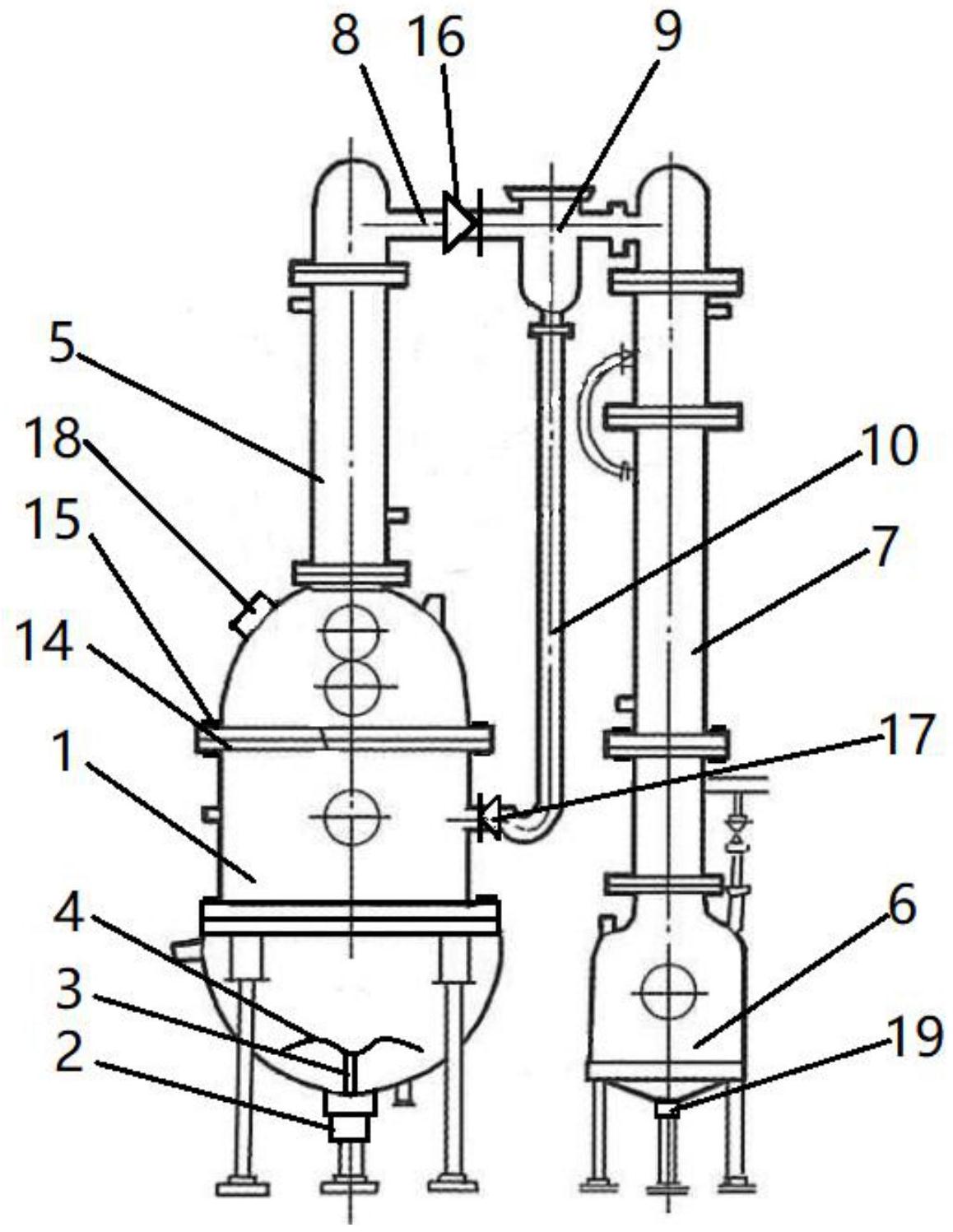
一种化工用真空减压浓缩罐的制作方法
图片尺寸1000x977
cn2555903y_负压硫酸铵浓缩液结晶罐失效
图片尺寸571x709
cn202892948u_一种减压浓缩罐失效
图片尺寸800x1000
真空减压浓缩器浓缩罐
图片尺寸602x654
qn5003000系列球形浓缩罐
图片尺寸626x470
zn-500真空减压浓缩罐cad图浓缩器冷凝器汽液分离器冷却器【676】
图片尺寸1222x887
全自动的电镀污泥浓缩及储泥装置,装置含有污泥提升泵,浓缩罐进料管道
图片尺寸719x583
真空减压浓缩罐
图片尺寸600x761
一种真空减压浓缩罐-爱企查
图片尺寸1158x1497
深锥型浓密罐结构图:洗砂厂污水处理使用深锥型浓密罐流程图:深锥型
图片尺寸366x442
一种节能型球形真空浓缩罐的制作方法
图片尺寸943x1000
污泥混合浓缩排放一体罐
图片尺寸1694x2016
节能真空减压浓缩罐的制作方法
图片尺寸1000x968
真空浓缩罐的制作方法
图片尺寸1000x948
500l球形浓缩器操作图-model
图片尺寸794x1119
一种骨汤调味料生产用浓缩罐的制作方法
图片尺寸302x443
一种医药生产专用的真空减压浓缩罐的制作方法
图片尺寸520x550