浓缩装置图

浓缩装置
图片尺寸470x470
新双效浓缩装置图
图片尺寸400x456
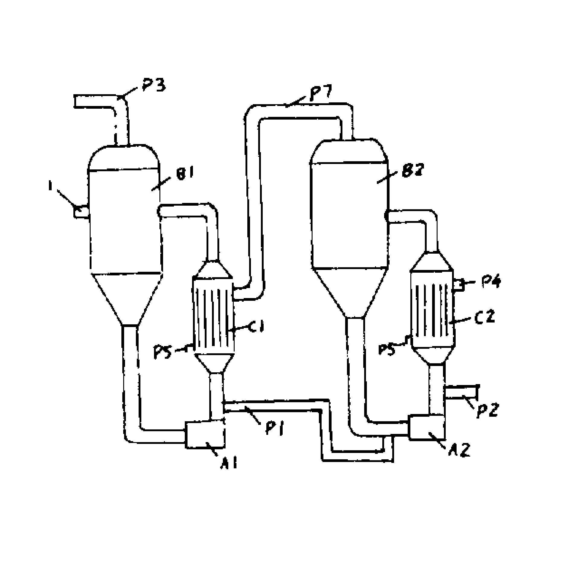
一种鱼溶浆蒸汽真空浓缩装置
图片尺寸2087x1984
磷铵化肥生产中的浓缩装置-爱企查
图片尺寸1881x1881
升膜式浓缩装置示意图
图片尺寸290x395
一种植物提取液浓缩装置
图片尺寸1499x1032
一种中药连续进出液高效节能浓缩装置的制作方法
图片尺寸446x487
图3 原双效浓缩装置图
图片尺寸400x446
cn212491591u_赤霉素减压浓缩装置
图片尺寸998x1000
易于控制溶液余量的浓缩装置的制作方法
图片尺寸874x1000
一种制取1,4-丁烯二醇的顺酐苯氧化法浓缩装置及方法与流程
图片尺寸1798x1596
薄膜浓缩装置介绍
图片尺寸376x395
小型真空浓缩器小型蒸发结晶器实验室真空减压低温浓缩蒸发装置
图片尺寸353x511
药液负压浓缩提取装置
图片尺寸1789x2117
一种中药提取液的真空浓缩装置的制作方法
图片尺寸371x443
一种具有热量回收利用功能的中药浓缩装置的制作方法
图片尺寸1000x830
一种蜂蜜浓缩装置的制作方法
图片尺寸1000x836
cn101759343a_污泥处理中的浓缩装置有效
图片尺寸1672x2524
一种有机废液浓缩装置
图片尺寸359x360
膜浓缩装置_实验室减压浓缩装置图_气体预浓缩装置
图片尺寸1920x1920