浮动定位销

讲师:如下图所示,浮动销即是定位过程中可以随着轴套精密滑动配合的
图片尺寸1055x1209
可浮动的外涨定位夹紧器 定位销的浮动可以吸收孔间间距的偏差 | 日本
图片尺寸1080x675
一种浮动定位销-爱企查
图片尺寸952x1192
讲师:如下图所示,浮动销即是定位过程中可以随着轴套精密滑动配合的
图片尺寸454x676
一种机加工的浮动菱形定位销-爱企查
图片尺寸467x347
讲师:如下图所示,浮动销即是定位过程中可以随着轴套精密滑动配合的
图片尺寸1035x1085
防错浮动定位销装置-爱企查
图片尺寸1403x1548
特殊:对于具有特殊定位销直径(a尺寸)的浮动定位销,请联系工厂.
图片尺寸261x261
llts5偏心销ice12直线导轨用定位销llt35ice11t5不锈钢llt5
图片尺寸750x750
定位销
图片尺寸500x375
你知道定位销吗机械零件知多少
图片尺寸280x266
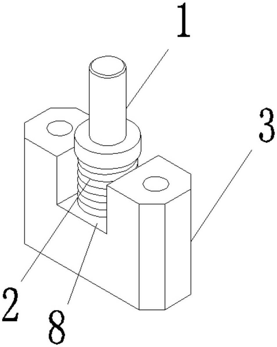
一种浮动定位销结构的制作方法
图片尺寸432x1000
gb119标准件a3铁圆柱销定位销固定销轴销钉实心销子m3m4m5m6m8m10
图片尺寸800x800
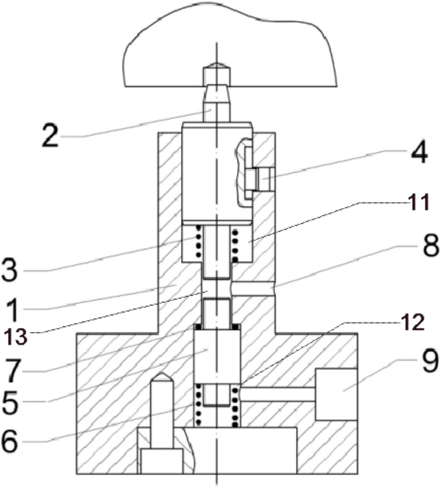
cn108105231b_一种浮动定位销装置有效
图片尺寸996x1000
一种浮动定位销及定位方法
图片尺寸732x1000
伸缩压铆微型pts-56-61定位销
图片尺寸1920x1920
一种浮动定位销装置的制作方法
图片尺寸1000x985
gb119标准件304不锈钢圆柱销定位销固定销销钉销子m4m5m6m8m10m12—销
图片尺寸790x790
汽车定位销-定位销-响泰机械优选厂家
图片尺寸520x382
18-8不锈钢定位销
图片尺寸500x500