浮动接头内部结构

气缸浮动接头内部结构气缸浮动接头安装使用方法
图片尺寸785x768
浮动接头 一体型 迷你型
图片尺寸447x255
气缸浮动接头内部结构气缸浮动接头安装使用方法
图片尺寸622x403
摆动m16x2浮动接头粗牙m16x2.0气缸万向节接m27 m10x1.5x1.25现货
图片尺寸663x548
浮动接头的结构图如上图所示,内部采用球头构造,摆动灵活,轴向无间隙
图片尺寸818x277
一种浮动接头制造技术
图片尺寸1000x655
第一端子单元包括第一夹持端,第一夹持端的截面为v型结构;浮动模块
图片尺寸1350x1864
一种浮动接头的制作方法
图片尺寸1000x580
厂家生产;浮动接头fd1063-m16,气缸附件,万向接头,快速接头
图片尺寸758x623
cn201412620y_浮动密封式高速高压旋转接头失效
图片尺寸1559x1140
作用当负载连接于气缸活塞杆端部时,使用浮动接头连接可吸收活塞杆和
图片尺寸640x318
弹力式浮动接头的制作方法
图片尺寸1000x899
其实防止长行程气缸伸出卡顿有很多方式,下面这种浮动接头得形式更
图片尺寸1051x633
浮动接头 薄型气缸专用型 jb系列
图片尺寸880x407
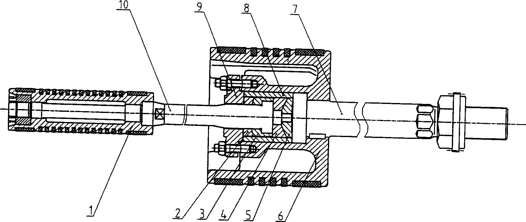
压缩机双球面浮动连接结构
图片尺寸1745x737
浮动连接器的制作方法
图片尺寸884x1000
气缸浮动接头系列
图片尺寸820x508
一种适用于高精密注塑及集成装置的浮动压头机构
图片尺寸1174x1276
浮动接头fm8x125f
图片尺寸530x591
压缩机双球面浮动连接结构
图片尺寸1746x587