浮动装置

浮动支撑装置
图片尺寸1743x1926
浮动吸油采样器价格浮动吸油采样器规格厂家尽在保定纪元石化
图片尺寸1024x768
万能浮动装置
图片尺寸530x298
电动搬运车的浮动装置
图片尺寸1415x1944
日本ft浮动af40浮动装置机构
图片尺寸441x500
能够浮动的装置来吸收对准时的位置偏差.
图片尺寸891x501
夹紧浮动机构-零部件,机构,装置-三维网 - powered by discuz!
图片尺寸1070x792
浮动吸油装置
图片尺寸310x257
旋转接头自动化程度高fcy系列油罐浮动出油收油装置
图片尺寸550x390
【浮动出油装置武汉众恒专业技术服务周到!】图片
图片尺寸336x286
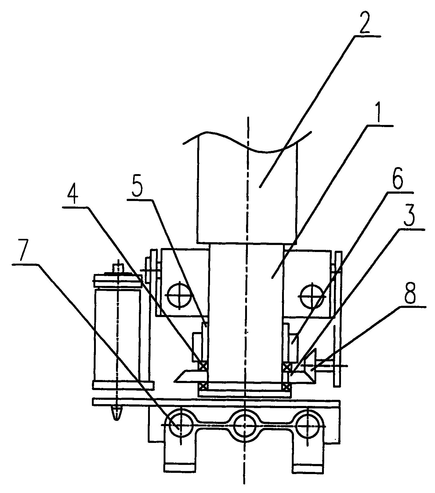
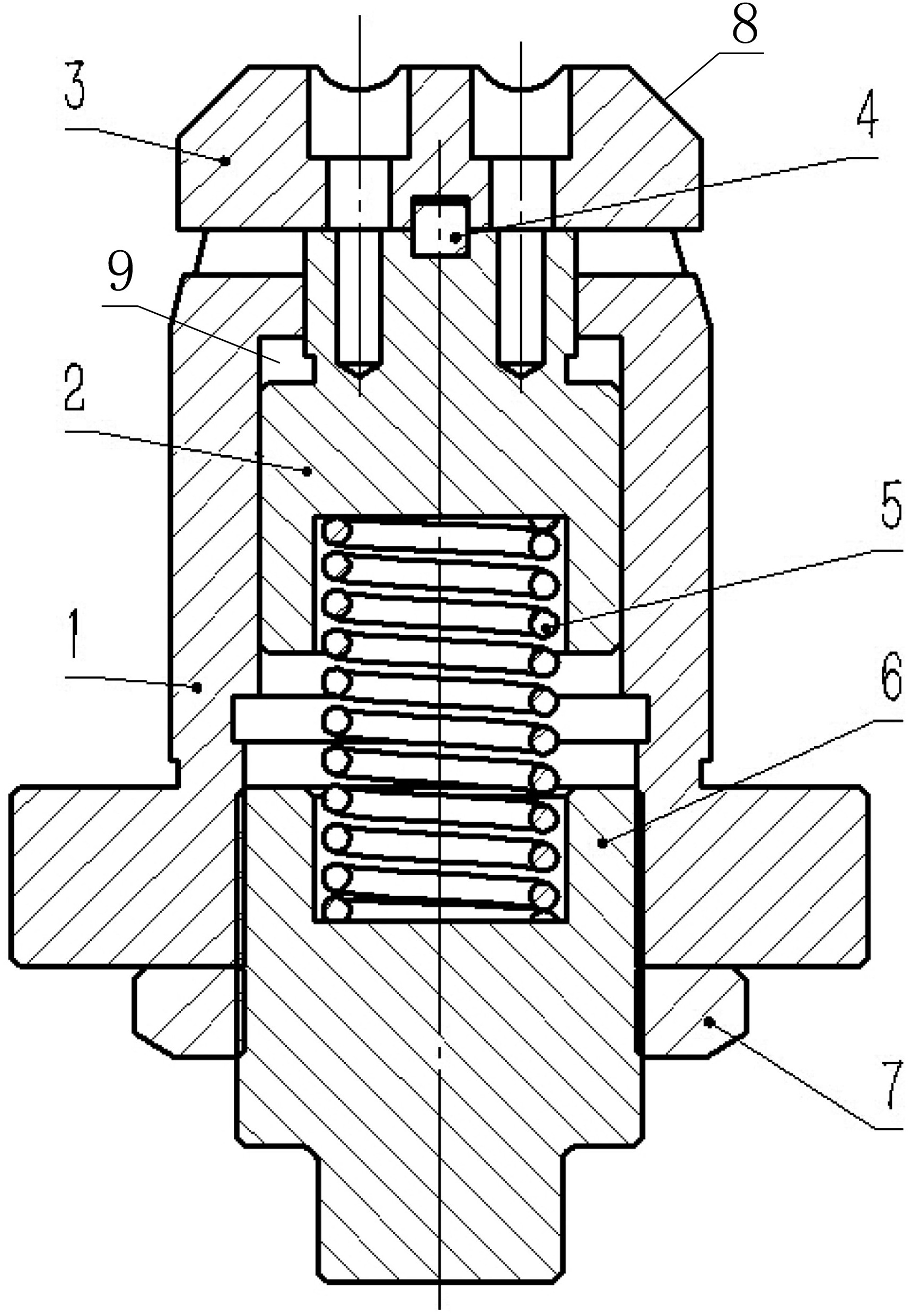
cn201442224u_型材定位板浮动装置有效
图片尺寸1482x1912
浮动装置:日本ft浮动
图片尺寸583x400
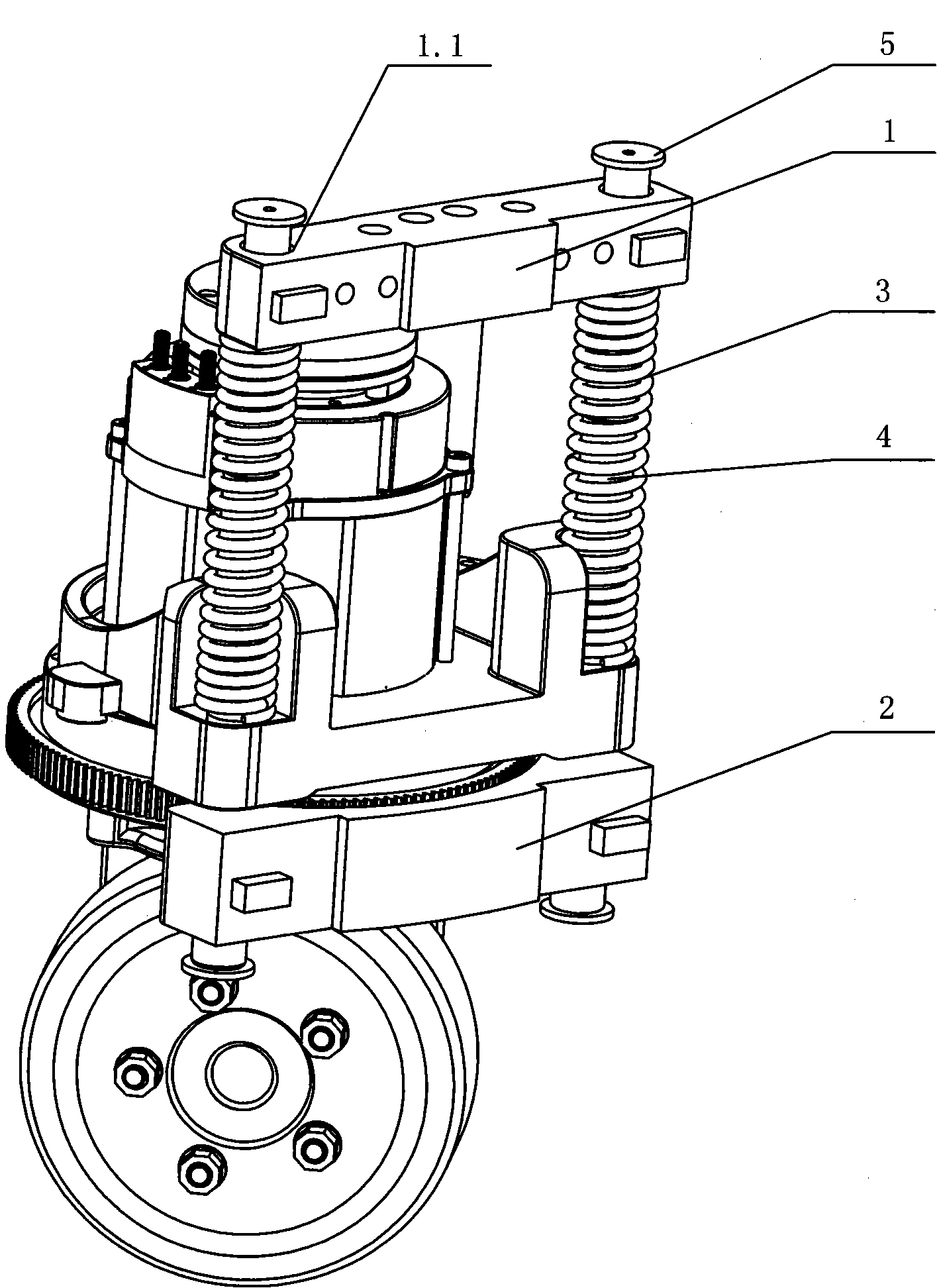
一种麦克纳姆轮浮动装置的制作方法
图片尺寸1000x863
攻丝浮动装置
图片尺寸600x390
机器人打磨工具篇丨pcfc恒力浮动打磨装置
图片尺寸448x573
一种用于自动拧紧的浮动装置的制作方法
图片尺寸556x407
机器人打磨工具篇丨pcfc恒力浮动打磨装置
图片尺寸600x386
一种浮动锥形定位装置
图片尺寸1718x2483
上下浮动装置-爱企查
图片尺寸1425x1614
cn107445462a_一种tftlcd液晶玻璃从动分体牵引辊浮动装置在审
图片尺寸1000x686