浮动连接的结构图

浮动接头 一体型 迷你型
图片尺寸447x255
气缸浮动接头内部结构气缸浮动接头安装使用方法
图片尺寸785x768
浮动接头 前端连接接头
图片尺寸354x195
浮动连接器的制作方法
图片尺寸884x1000
cn207195426u_一种浮动式柔性连接机构有效
图片尺寸1706x797
其实防止长行程气缸伸出卡顿有很多方式,下面这种浮动接头得形式更
图片尺寸1051x633
cn211916014u_一种浮动压装机构
图片尺寸1467x2319
一种浮动式连接结构及基于飞机elt浮标的浮动式连接结构
图片尺寸373x444
cn204300344u_一种液压油缸活塞杆的浮动连接机构有效
图片尺寸1000x995
工厂自动化零件 气动/液压设备 气缸连接零件 浮动接头 浮动接头 薄型
图片尺寸880x407
气缸浮动接头内部结构气缸浮动接头安装使用方法
图片尺寸434x331
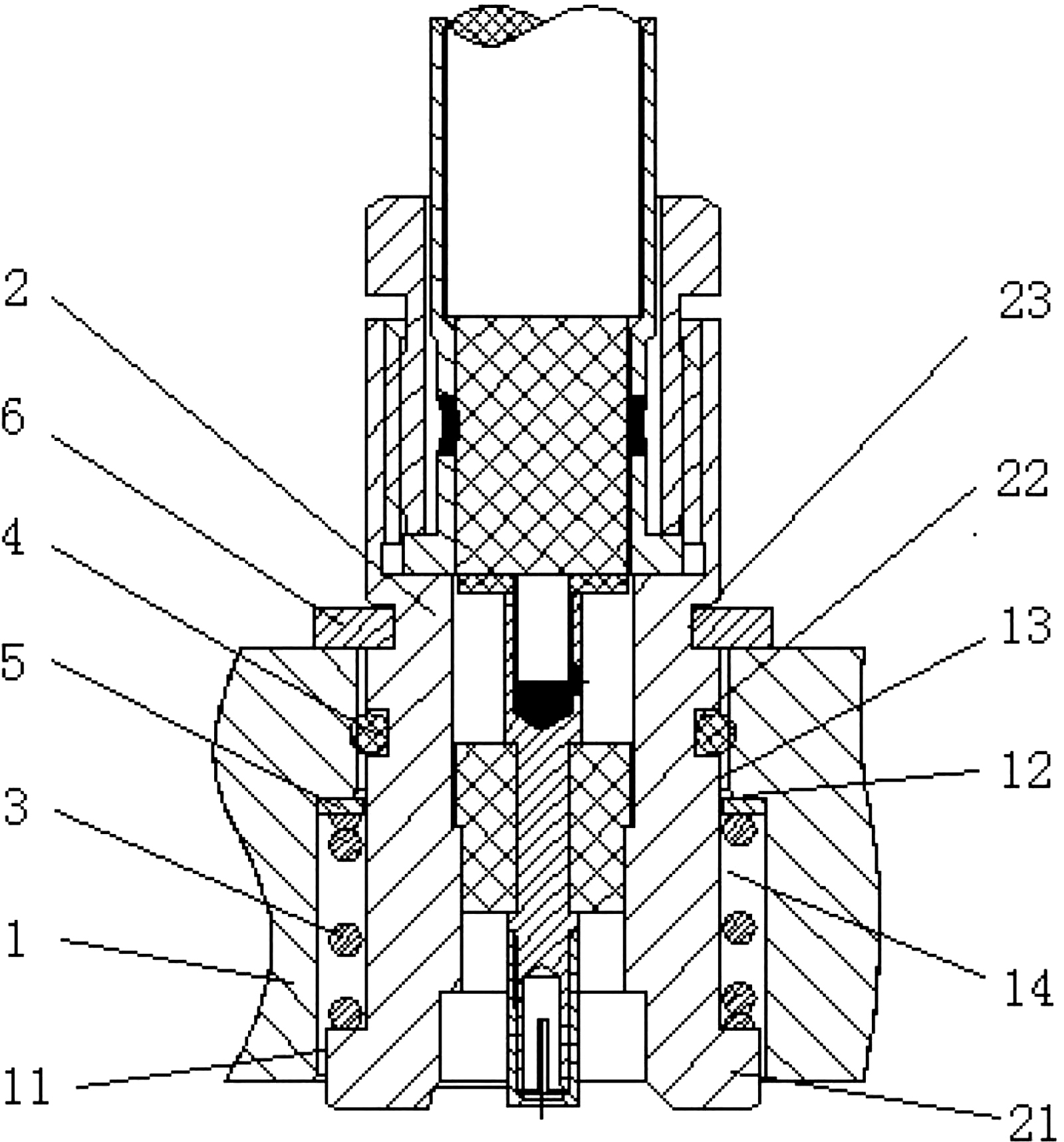
一种浮动连接器的制作方法
图片尺寸539x1000
浮动接头 法兰安装型 双止动法兰四面宽度气压缸连接器组合品 (型号表
图片尺寸260x229
一种双排排针与双排排母的板间浮动连接器
图片尺寸623x1311
一种板间浮动连接器的制作方法
图片尺寸1000x655
浮动式插座连接器-爱企查
图片尺寸1600x1717
一种挂接浮动机构
图片尺寸1514x1238
其他连接器浮动式板对板连接器性能优势及前景分析曲靖广腾贴片连接器
图片尺寸640x475
一种浮动接头制造技术
图片尺寸1000x655
一种浮动式对接接头的制作方法
图片尺寸1000x963