浮标结构图

一种水质监测浮标系统
图片尺寸1576x1830
小型在线水质监测站浮标结构介绍
图片尺寸431x661
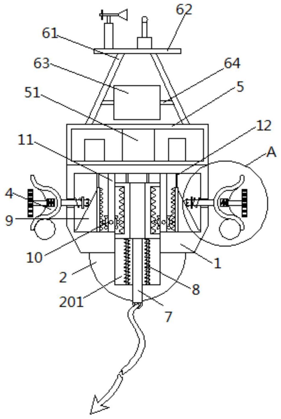
包括有圆饼形浮标体,在浮标体的上方设有管/杆结构构成便于透风的上
图片尺寸1872x2632
上述专利中的非金属航标灯浮标标体结构的浮标本体由四块直角扇形台
图片尺寸735x1000
水质监测浮标:完善水质监测的好帮手.#水质监测浮标 #浮漂式 - 抖音
图片尺寸834x834
一种海洋浮标的制作方法
图片尺寸850x1000
一种海洋浮标的制作方法
图片尺寸909x1000
cn101219704a_双t型高弹性复合浮标失效
图片尺寸1388x2669
thk6060 水质生态监测浮标thk6060
图片尺寸565x323
cn112896429a_自动导航移动式海洋浮标
图片尺寸1821x2376
一种海洋环境监测用浮标的制作方法
图片尺寸377x443
浮标图纸.jpg
图片尺寸452x452
一种自发电海洋浮标
图片尺寸1305x1864
海洋环境生态浮标
图片尺寸578x645
一种浮力可调的通用航海浮标
图片尺寸1637x1675
一种海洋工程用监测浮标结构-爱企查
图片尺寸932x1388
摘要附图摘要本实用新型公开了一种auv的应急浮标,其结构简单,尺寸较
图片尺寸664x800
海洋自持式剖面循环探测浮标
图片尺寸590x640
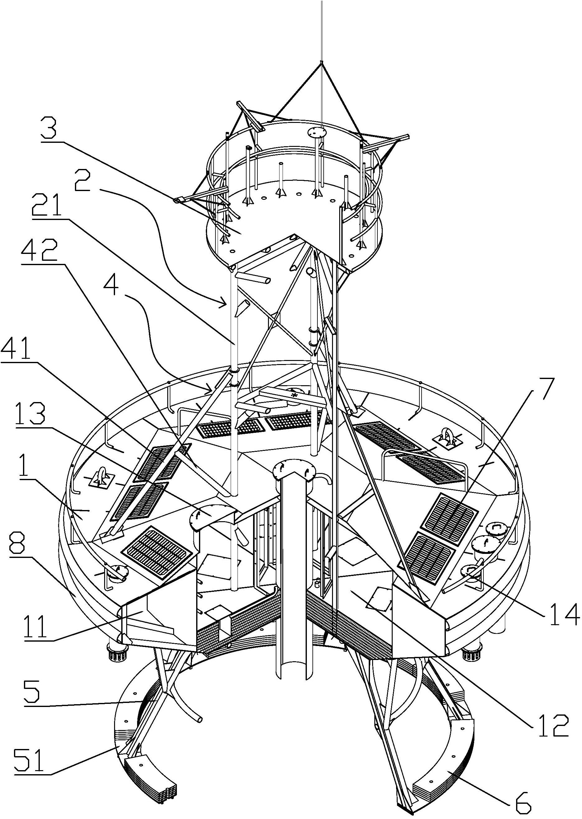
由于海洋浮标在使用时受到的风,浪,流的复杂作用,因此浮标结构性能的
图片尺寸1000x909
海上多功能组合式浮标的制作方法
图片尺寸305x443