浴帽简笔画

浴帽的简笔画
图片尺寸750x285
浴帽儿童画怎么画浴帽简笔画图片
图片尺寸600x375
一种儿童浴帽-爱企查
图片尺寸1430x1072
298 free images and vector silhouettes about .
图片尺寸340x340
67浴帽简笔画
图片尺寸800x450
洗头浴帽(2)
图片尺寸1588x1087
一种防水浴帽的制作方法
图片尺寸891x1000
带吸水棉的浴帽的制作方法
图片尺寸1000x645
cn108323853a_可透气的浴帽失效
图片尺寸1194x695
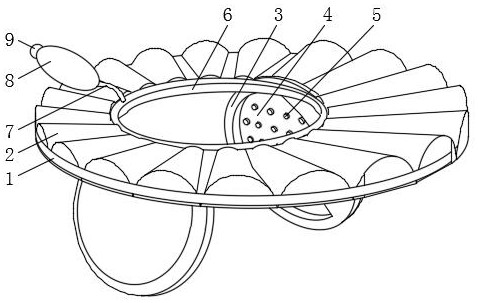
一种新型儿童浴帽
图片尺寸1649x1770
浴帽简笔画
图片尺寸600x402
浴帽简笔画
图片尺寸600x417
一种防水浴帽
图片尺寸1371x1553
浴帽儿童画怎么画浴帽简笔画图片
图片尺寸600x388
本实用新型涉及一种儿童洗浴帽,包括:浴帽主体,浴帽主体具有顶部以及
图片尺寸1000x854
浴帽简笔画
图片尺寸600x425
cn212233304u_一种可调防渗水的密封儿童浴帽有效
图片尺寸478x303
头巾或浴帽模板
图片尺寸1100x1134
带着浴帽的美少女
图片尺寸610x901
一种儿童浴帽的制作方法
图片尺寸1000x747