浴缸排水结构

一种新型浴缸排水结构-爱企查
图片尺寸1998x1762
佛山厂家直供家用酒店情侣冲浪按摩缸恒温成人一体亚克力浴缸
图片尺寸1920x1284
浴缸的安装
图片尺寸1001x620
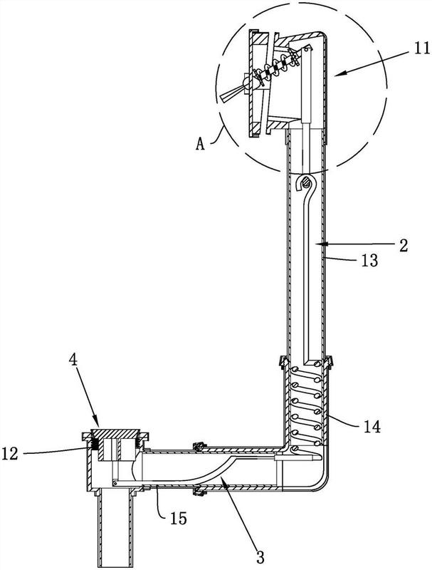
排水塞,撬动件和传动件;安装座设有下水口,下水口用于连通浴缸,排水塞
图片尺寸607x800
一种浴缸液压式排水装置-爱企查
图片尺寸1319x1851
cn205259285u_一种浴缸的溢水排水装置有效
图片尺寸777x1000
17. 压克力浴缸地排水安装示意图
图片尺寸368x368
当你的浴缸排水系统似乎不能有效发挥作用时,请记住这些方法:浴缸的
图片尺寸500x310
浴缸地排水安装示意图
图片尺寸752x430
一种伸拉式浴缸用下水器
图片尺寸1553x2163
地漏位置设置 除了正常的排水管道预留外,在通常情况下,为了避免浴缸
图片尺寸1652x914
浴缸排水科勒下水器管k17758cp适配乐芙浴缸配件
图片尺寸750x497
一种新型浴缸排水结构的制作方法
图片尺寸1000x878
厂家直销澳友卫浴 可定制尺寸 镀铬全铜贵妃元宝缸 浴缸下水器
图片尺寸751x982
大宅别墅浴缸设计&选购指南,让生活充满仪式感
图片尺寸764x368
一种浴缸的进水排水系统-爱企查
图片尺寸954x1353
一种带有隐藏式溢水结构的浴缸-爱企查
图片尺寸1470x1119
67浴缸质量分析浴缸排水管堵塞解决方法
图片尺寸400x394
58143000 汉斯格雅 浴缸排水溢水套餐
图片尺寸675x675
浴缸排水
图片尺寸359x420