浴缸溢水结构图解

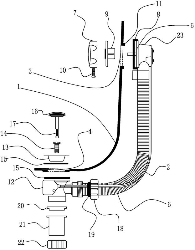
cn205259285u_一种浴缸的溢水排水装置有效
图片尺寸777x1000
浴缸的安装
图片尺寸1001x620
佛山厂家直供家用酒店情侣冲浪按摩缸恒温成人一体亚克力浴缸
图片尺寸1920x1284
鱼缸的直角,三角,三重溢流的优缺点
图片尺寸580x452
浴缸的3种安装方式,施工工艺和保养技巧
图片尺寸764x368
直角溢流比三重溢流好?
图片尺寸900x500
揭秘全球顶级酒店的浴缸设计
图片尺寸1652x914
科凡卫浴正品独立式古典浴缸 欧式贵妃缸 亚克力浴缸
图片尺寸752x430
酒店浴缸怎么排水图解
图片尺寸500x375
一种浴缸的溢水排水装置-爱企查
图片尺寸623x799
浴缸排水科勒下水器管k17758cp适配乐芙浴缸配件
图片尺寸750x497
需要注意的是现场安装是做完钢架结构后再将浴缸放置进去,之后进行
图片尺寸1619x925
天禹不锈钢拉丝浴缸冷热三联水龙头入墙式淋浴花洒混水阀
图片尺寸750x750
arrow箭牌浴缸亚克力五件套防滑浴缸家用气泡按摩浴缸成人小户型泡澡
图片尺寸790x1109
底滤鱼缸的三重溢流直角溢流设计各有哪些优缺点
图片尺寸1200x720
浴缸下水管堵塞怎么办?浴缸不能排出水的原因
图片尺寸500x310
科勒卫浴配件浴缸排水下水器浴缸排水管含溢水k17295tcp17295tcp抛光
图片尺寸790x694
58143000 汉斯格雅 浴缸排水溢水套餐
图片尺寸675x675
35㎡卫生间如何塞下一个浴缸2022年最该秒抄的装修方案
图片尺寸720x546
厂家直销澳友卫浴 可定制尺寸 镀铬全铜贵妃元宝缸 浴缸下水器
图片尺寸751x982