浴霸平面图

日本进口电机,小米生态链 yeelight 智能浴霸暖风机
图片尺寸790x870
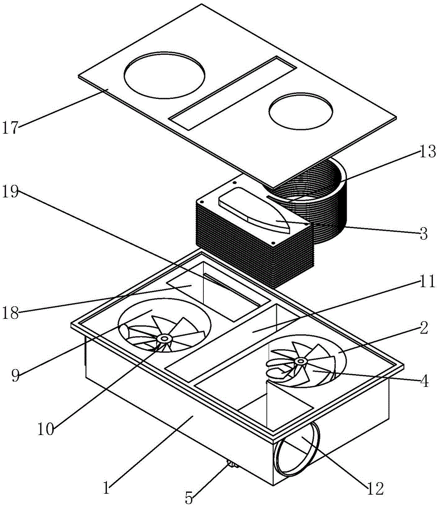
一种双风道吊顶浴霸的制作方法
图片尺寸443x391
求问三分离卫生间浴霸怎么选
图片尺寸1080x1216
一种智能浴霸的制作方法
图片尺寸866x1000
一种具有负离子功能的浴霸的制作方法
图片尺寸603x652
96toto多功能浴霸totoyb3161caraar三干王浴室取暖干燥机集成吊顶
图片尺寸799x1267
cn211290248u_一种智能浴霸有效
图片尺寸866x1000
一种浴霸的制作方法
图片尺寸1000x906
砍价再减科勒kohler浴霸集成吊顶石膏吊顶多功能暖风浴霸嵌入式卫生间
图片尺寸790x1207
砍价再减科勒kohler浴霸集成吊顶石膏吊顶多功能暖风浴霸嵌入式卫生间
图片尺寸790x1356
浴霸的制作方法
图片尺寸443x333
broan 百朗 fl200,ht-fa180风暖浴霸安装及简评
图片尺寸786x714
智享6号小夜灯浴霸 多功能风暖浴霸 集成吊顶电器 厂家批发
图片尺寸790x2414
快装式灯暖浴霸-爱企查
图片尺寸1104x1365
风暖集成浴霸(fths7-6g)
图片尺寸520x287
浴霸njsll33lhdz1b
图片尺寸441x456
批发碳纤维浴霸多功能五合一取暖器集成吊顶风暖浴霸
图片尺寸750x772
冬天里的小太阳,松下系列浴霸产品解析
图片尺寸689x302
嘉兴厂家直销集成吊顶浴霸欧普浴霸卫生间集成浴霸批发
图片尺寸750x635
yeelight易来智能浴霸s20小爱同学语音控制app操作集成吊顶风暖浴霸灯
图片尺寸750x980