消力池设计

消力池
图片尺寸893x298
某水库消力池施工图纸
图片尺寸385x279
污泥厌氧消化池
图片尺寸1080x849
消防水池施工图
图片尺寸888x493
雨水消力池设计图
图片尺寸325x220
消力池结构图
图片尺寸451x312
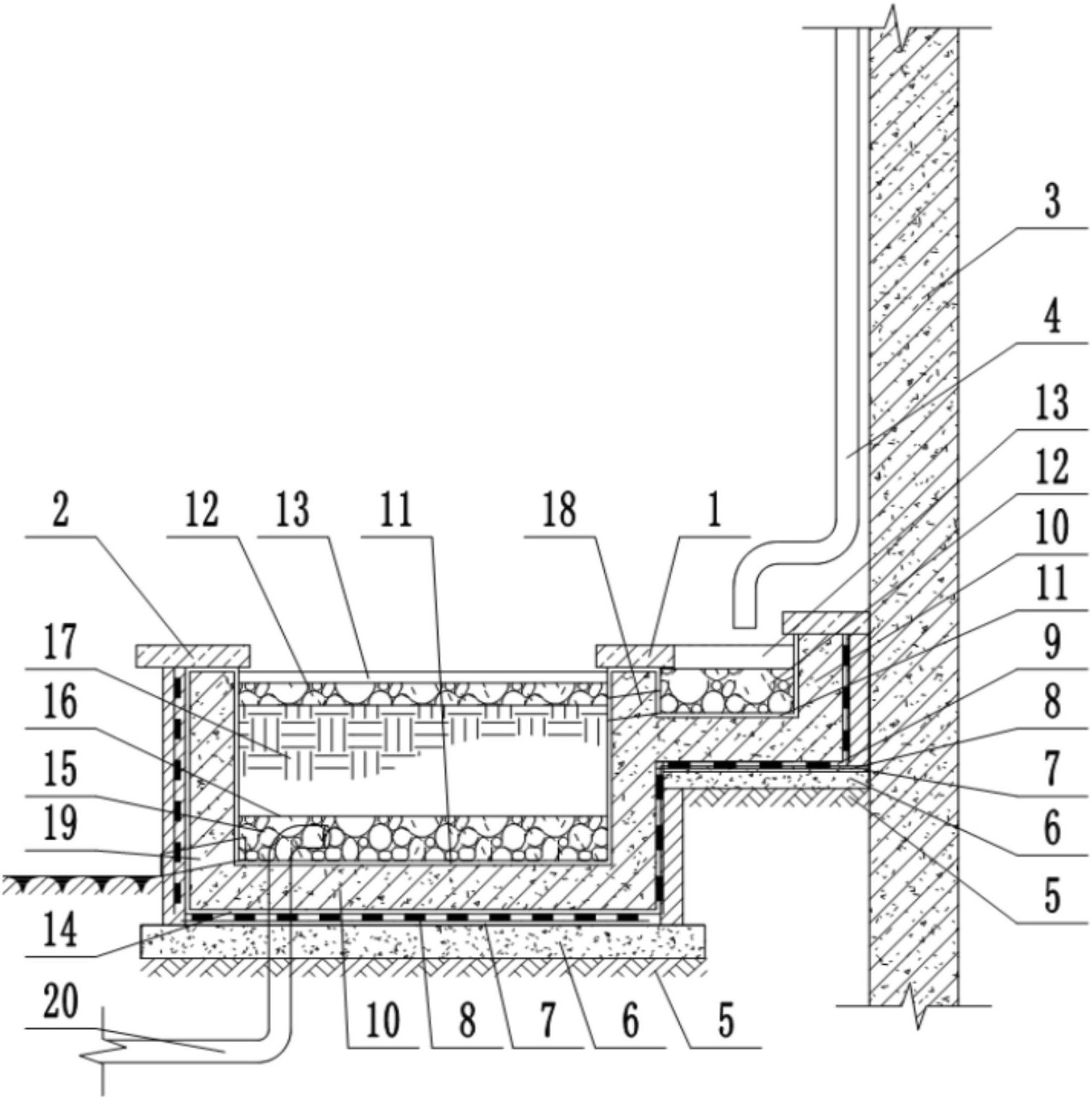
一种海绵城市高层建筑用高位消能花池
图片尺寸1692x1703
a3-厌氧消化池工艺图
图片尺寸820x579
消力池图纸
图片尺寸560x403
重庆某雨水消力池大样图
图片尺寸560x346
消力池,防冲槽布置
图片尺寸560x420
消力池设计图
图片尺寸488x336
预应力卵形消化池设计
图片尺寸433x574
消防水池结构设计图纸
图片尺寸600x705![[施工图]某消防水池结构设计图](https://i.ecywang.com/upload/1/img1.baidu.com/it/u=1671002860,2419700905&fm=253&fmt=auto&app=138&f=JPEG?w=560&h=395)
[施工图]某消防水池结构设计图
图片尺寸560x395
某消防水池结构图-钢结构施工图-筑龙结构设计论坛
图片尺寸560x326
消防水池结构图
图片尺寸305x242
消力池计算
图片尺寸689x448
某消防水池结构节点构造详图-混凝土节点详图-筑龙结构设计论坛
图片尺寸826x580
某消防水池设计图
图片尺寸300x254