消毒器怎么画

喷雾器简笔画画法图解
图片尺寸800x416
喷壶简笔画
图片尺寸500x333
食具消毒柜-爱企查
图片尺寸677x1028
cn105457070b_一种空气消毒器结构
图片尺寸758x1000
多功能消毒器
图片尺寸1713x2211
一张线稿-关于居家消毒机
图片尺寸1080x799
一种筷子消毒器-爱企查
图片尺寸1655x2372
婴儿奶瓶消毒器图标.轮廓矢量插图.图片下载
图片尺寸800x800
消毒器及烘干消毒设备制造技术
图片尺寸805x1000
6,喷壶上写上消毒液三个字.(不会写的可以请爸爸妈妈帮忙)
图片尺寸2000x2667
cn306298830s_消毒器有效
图片尺寸1153x1865
消毒枪简笔画
图片尺寸500x595
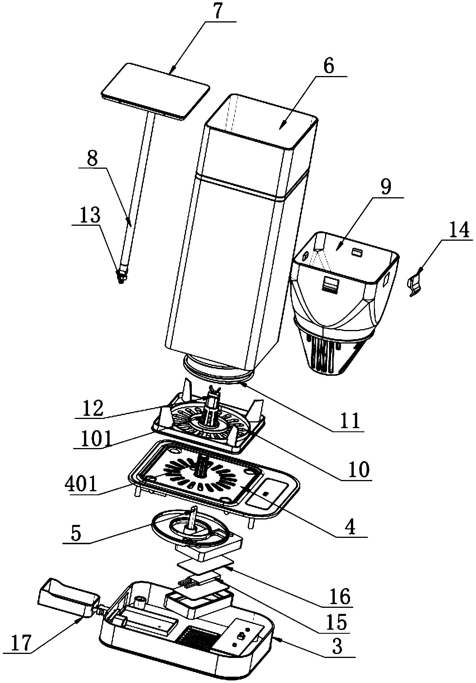
自动消毒机喷臂结构及自动消毒机
图片尺寸1466x2987
消毒器图标轮廓样式
图片尺寸885x1200
cn209916770u_一种筷子消毒器有效
图片尺寸564x1000
cn202207329u_奶瓶消毒器失效
图片尺寸800x975
一种桌面消毒器-爱企查
图片尺寸1357x2255
一种酒精消毒器的制作方法
图片尺寸948x1000
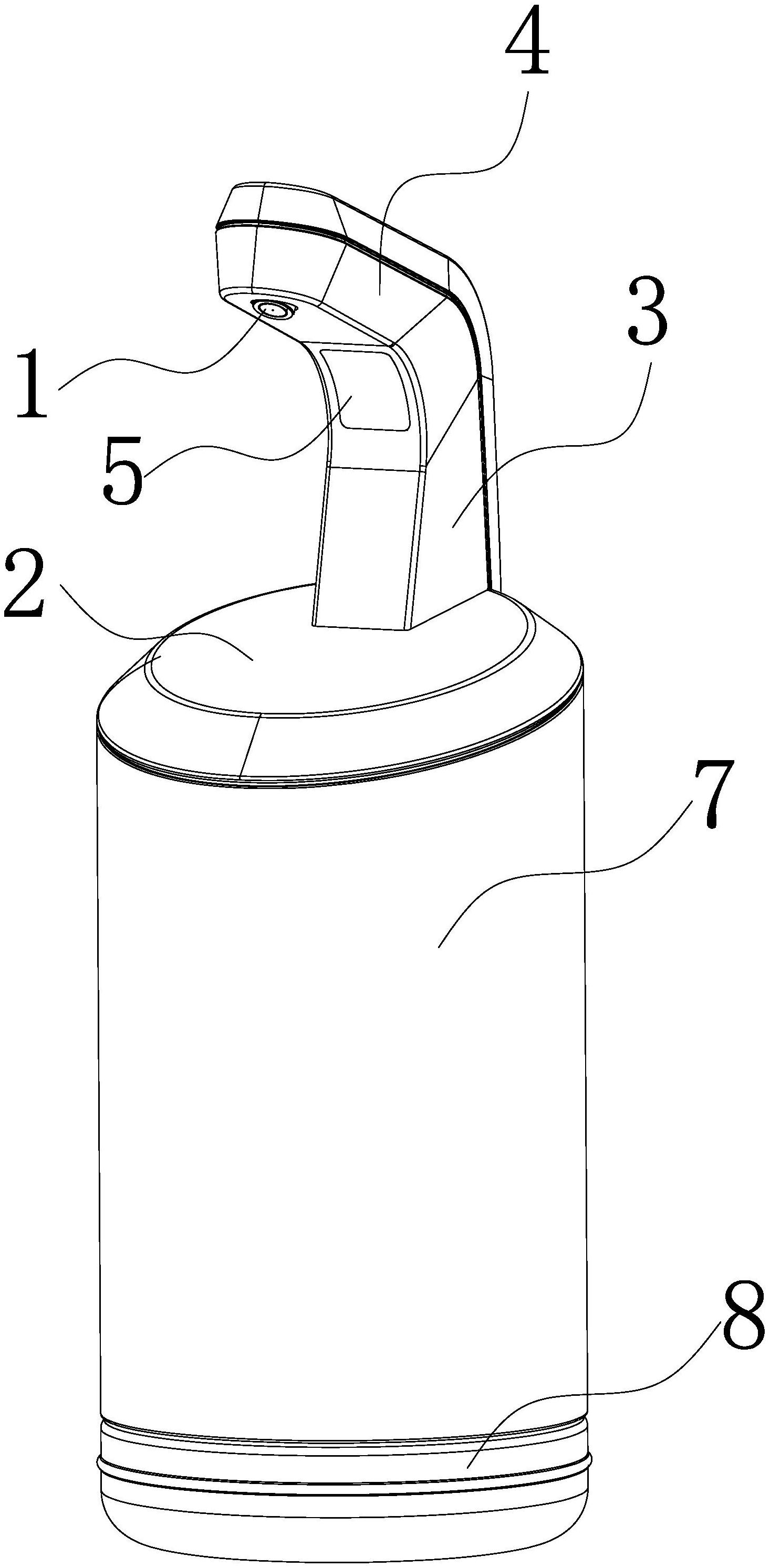
cn213608448u_一种消毒器有效
图片尺寸1596x1830
酒精消灭病毒简笔画
图片尺寸800x416