消泡器示意图

机械消泡器
图片尺寸308x411
yxdf系列消泡器
图片尺寸987x548
一种电热消泡除沫装置及其工作方法-爱企查
图片尺寸1754x2055
cn212631852u_一种主机润滑油消泡装置有效
图片尺寸1825x2336
py系列消防泡沫灭火装置
图片尺寸437x381
高粘度液体产品的消泡装置
图片尺寸1656x1540
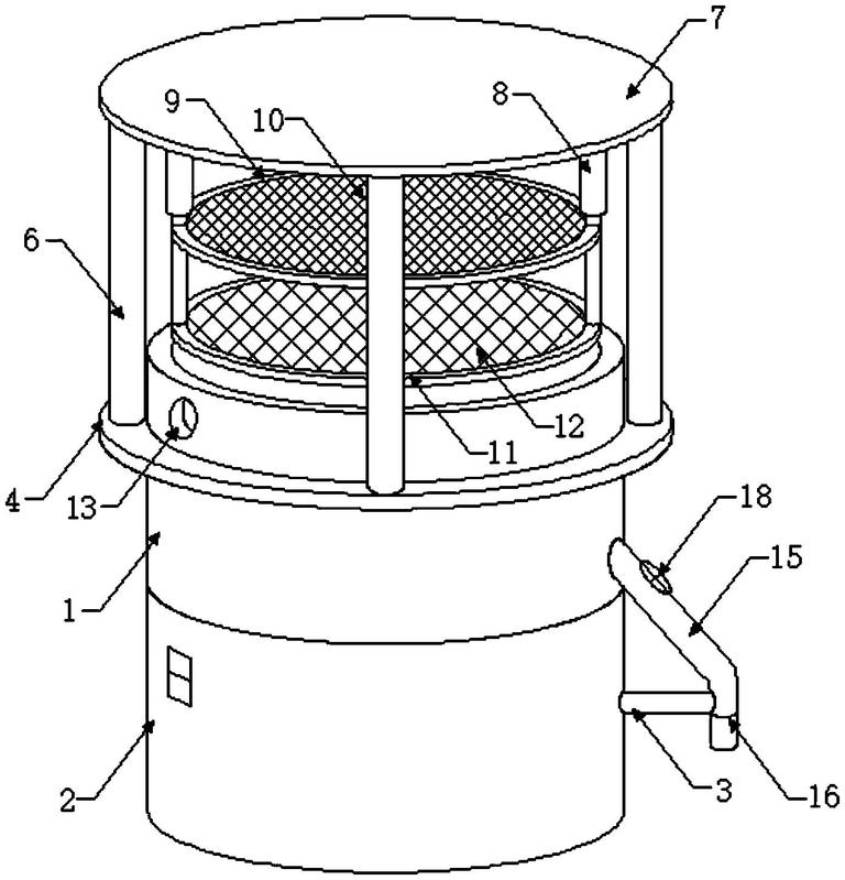
cn213589780u_一种植物油的消泡器有效
图片尺寸1270x1206
新型机械消泡器简介
图片尺寸313x531
厉害了,原来物理镍消泡器的消泡性能这么强大
图片尺寸790x473
一种涂料生产用加工用消泡装置-爱企查
图片尺寸768x799
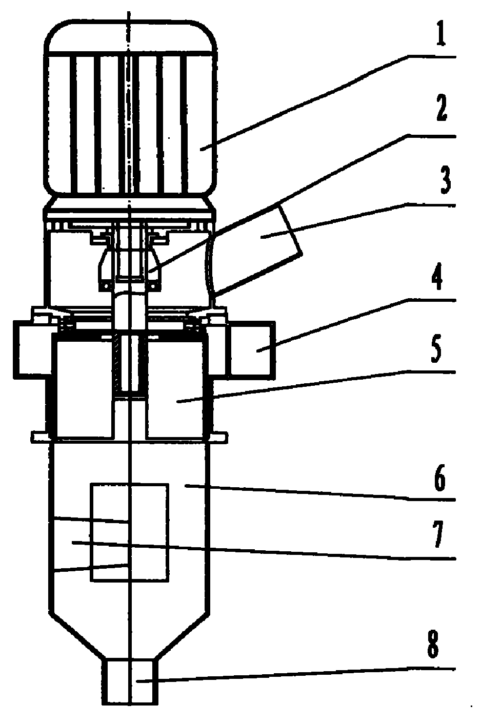
摘要附图摘要提供一种发酵罐消泡装置,所述消泡装置由旋风分离器和
图片尺寸1167x2001
消泡器
图片尺寸502x524
cn2785679y_蜗壳式机械消泡器失效
图片尺寸940x1417
消除泡沫的方法机械消泡的优点
图片尺寸436x359
发酵液复合消泡装置
图片尺寸875x1000
发酵罐消泡装置的制作方法
图片尺寸1000x993
一种涂料消泡装置制造方法及图纸
图片尺寸515x1000
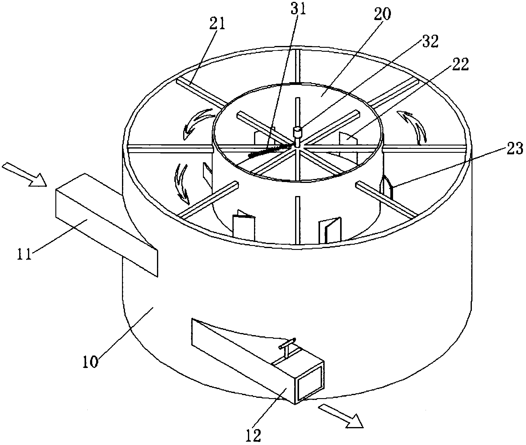
一种旋流式消泡装置
图片尺寸1729x1462
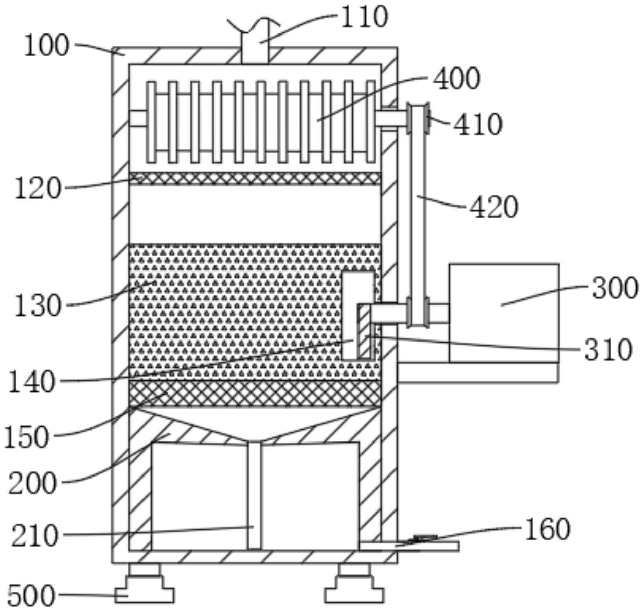
cn104258604a_多孔介质消泡器有效
图片尺寸806x1000
机械消泡器开放式
图片尺寸779x467