涡轮导向器

涡轮导向器
图片尺寸1480x1239
主要用于四大热端部件:燃烧室,导向器,涡轮叶片和涡轮盘,此外,还用于
图片尺寸431x332
涡喷发动机用导向器及涡喷发动机-爱企查
图片尺寸1326x1100
xc4020xl-2bg256c 涡轮导向器
图片尺寸335x263
某飞机发动机导向器
图片尺寸885x639
适应通用发动机技术(advent)发动机验证机采用cmc材料制造的低压涡轮
图片尺寸720x478
退役航空发动机解剖教具 涡轮发动机翻新 高压压气机定子 艾克莱
图片尺寸660x880
涡轮导向器
图片尺寸600x449
f135发动机低压涡轮进口导向器点击播放 gif0.
图片尺寸493x310
涡轮导向器叶片
图片尺寸1024x576
用于涡轮机的可调的导向器用于废气涡轮增压器的涡轮机和废气涡轮增压
图片尺寸1497x742
涡喷发动机零部件,用于无人机,超轻型飞机的涡轮盘和导向器
图片尺寸750x750
发动机热定心承力型导向器
图片尺寸1500x1770
(通过铸造工艺加工的导向器)
图片尺寸675x450
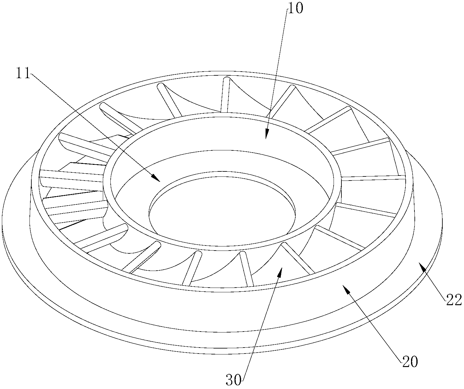
cn204419278u_涡轮导向器有效
图片尺寸1000x837
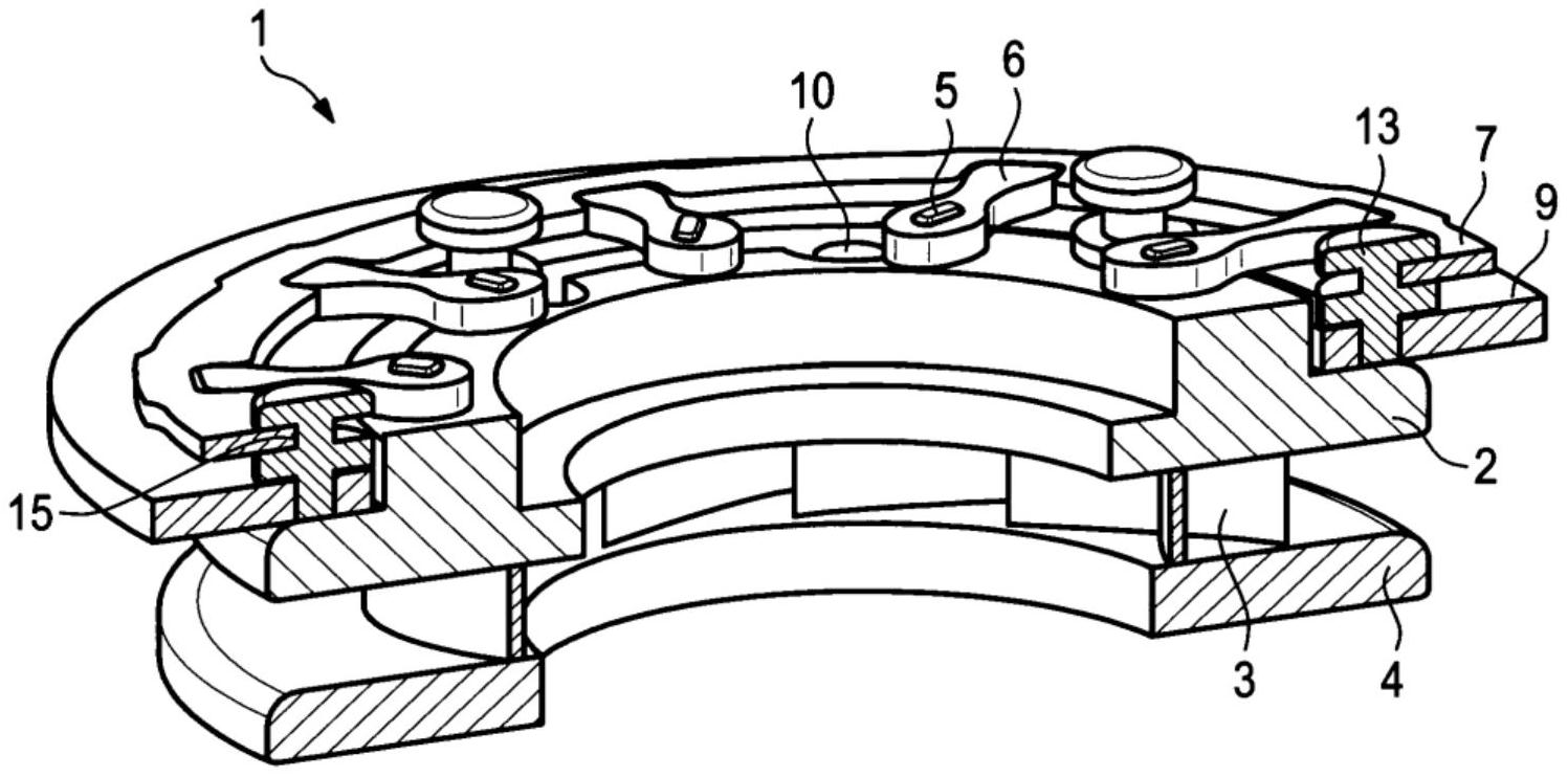
cn110566285a_一种紧凑型向心涡轮导向器在审
图片尺寸545x534
处引出的用于冷却高压涡轮部件的冷却空气,经过空气-空气换热器降温后
图片尺寸1950x1098
宝鸡泵f系列配件 阀杆导向器 石油钻机配件
图片尺寸655x454
涡喷发动机零部件,用于无人机,超轻型飞机的涡轮盘和导向器
图片尺寸750x750
阀杆导向器
图片尺寸1417x608