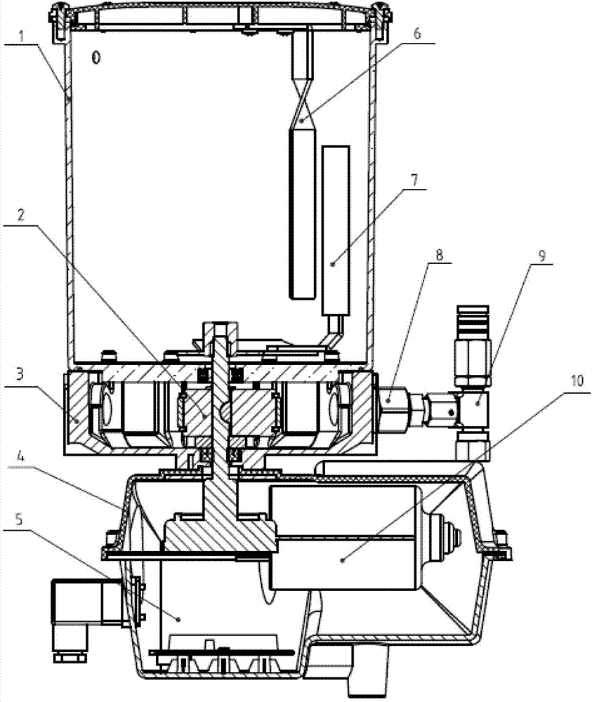
润滑油泵结构图

摘要附图摘要本实用新型公开了一种漆包线润滑油泵,其结构包括时间表
图片尺寸450x495
机油泵结构剖面图机油滤清器和机油冷却器装配图三,柴油机润滑系统的
图片尺寸600x375
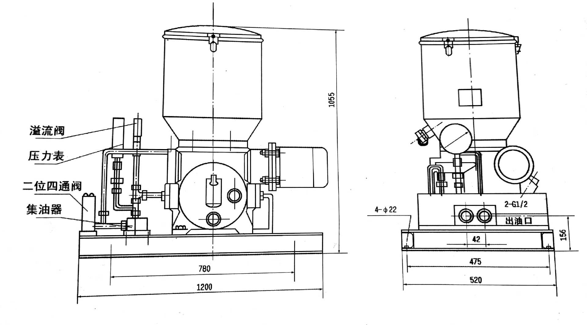
电动润滑泵10mpa.pdf
图片尺寸800x1141
4种博世油泵结构,原理及失效分析
图片尺寸591x681
液压油泵的结构原理
图片尺寸400x275
cn211853486u_电动润滑油脂泵
图片尺寸1974x2110
sk 505日本电动黄油泵24v冲床自动注油泵润滑油脂加油ihi枪机 国产
图片尺寸749x670
一种均质机润滑油泵安装结构的制作方法
图片尺寸434x444
电动润滑泵
图片尺寸843x1000
高粘度润滑油泵
图片尺寸600x261
wdb电动多点润滑泵
图片尺寸600x315
移动式电动干油泵当活塞处于图示位置时,润滑脂通过吸入口吸入并充满
图片尺寸437x274
汽车油泵结构图
图片尺寸716x389
柴油机柱塞式高压油泵的工作原理,看完这篇必须懂
图片尺寸501x885
(包质量)优惠供应电动润滑泵hb-p400z hb-p800z 润滑设备
图片尺寸1920x1064
手动润滑泵sgz8
图片尺寸775x402
0-s手动润滑泵 手动干油泵 电动润滑泵 srb润滑泵
图片尺寸891x1171
移动式电动润滑泵价格
图片尺寸800x405
kracht 分离器润滑油泵kf6rf2/197-d15齿轮泵电机泵组
图片尺寸1661x1920
4种博世油泵结构,原理及失效分析
图片尺寸591x441