涨紧轴结构

一种同心移动的涨紧轴-爱企查
图片尺寸707x800
一种同心移动的涨紧轴的制作方法
图片尺寸443x501
一种用于压膜机卷材收放料轴的涨紧机构的制作方法
图片尺寸598x513
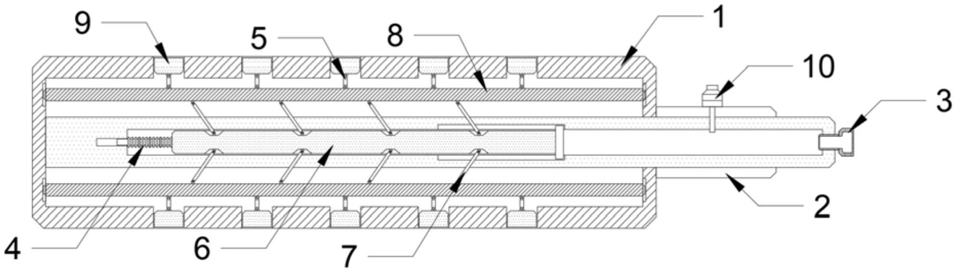
一种轴与轴的胀紧联结套-爱企查
图片尺寸2024x1611
现有技术弹性可涨芯轴体积小,重量轻只有微锥芯轴重量的1/5,装夹工件
图片尺寸640x480
一种用于压膜机卷材收放料轴的涨紧机构
图片尺寸598x513
一种电动螺杆涨紧轴涨紧工件的机构,调控方法及应用
图片尺寸800x559
一种使用寿命长的气涨轴的制作方法
图片尺寸936x1000
一种收卷机涨紧轴结构-爱企查
图片尺寸800x489
背景技术:见附图,图1是现行机械胀轴的结构简图,图2是与现行机械胀轴
图片尺寸719x1000
一种改良式胀紧轴的制作方法
图片尺寸895x1000
定制全系列胀紧套z5免键涨紧轴套连结套涨套无键涨紧套z512016565
图片尺寸990x814
一种涨紧芯轴的制作方法
图片尺寸292x408
台森专业定制瓦片气胀轴键式气涨轴精湛工艺品质保障交货期快
图片尺寸1920x1395
一种机械式气涨轴的制作方法
图片尺寸518x424
内涨式涨紧机构
图片尺寸527x529
批发高端瓦片式气胀轴分切机专用配套气胀轴
图片尺寸750x1164
一种快速胀紧轴的制作方法
图片尺寸1000x468
cn210001332u_一种使用寿命长的气涨轴有效
图片尺寸936x1000
一种数控机床用板片式涨紧轴
图片尺寸1869x534