液力耦合器勺管原理图

液力偶合器,勺管.通过调节勺管开度,来调节速度,开度越大,输 - 抖音
图片尺寸660x1268
3勺管调节 勺管用于调节偶合器工作腔的充液 量,它的位置是由电动执行
图片尺寸1080x810
液力耦合器原理油路流程知识介绍
图片尺寸432x376
125mw机组锅炉给水泵液力偶合器损坏原因分析
图片尺寸724x1021
一种带制动盘限矩型液力偶合器专利产品
图片尺寸926x662
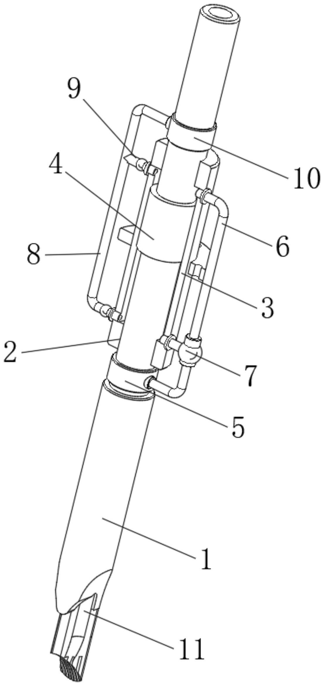
cn112855888a_一种基于液力偶合器的自控型勺管在审
图片尺寸1106x2338
给(gei)水泵,给(ji)水泵别再傻傻分不清楚
图片尺寸760x465
cn100396968c_离合型液力偶合器失效
图片尺寸1504x2261
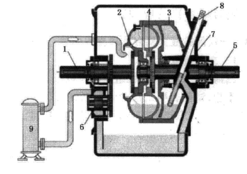
1执行器 2凸轮 3勺管 4定位油缸 5控制阀 6控制阀芯 7控制导向套 8
图片尺寸507x439
vickers调速型液力偶合器工作原理
图片尺寸296x250
yotfc系列调速型液力偶合器使用说明书_第2页
图片尺寸1684x2347
p data-id="gnbsfgqvqx">液力耦合器是利用液体的动能而进行能量传递
图片尺寸507x358
液力耦合器|限矩型液力偶合器|调速型液力偶合器|偶合器配件—新乡市
图片尺寸402x253
液力耦合器说明书_第2页
图片尺寸1858x2631
液力偶合器控制系统中西门子plc应用
图片尺寸522x338
首先,电泵耦合器一般为调速型号,带有可伸缩勺管的,如耀邦液力偶合器
图片尺寸702x417
调速型液力偶合器勺管的设计计算
图片尺寸1417x1934
调速型液力耦合器
图片尺寸354x331
调速型液力耦合器主要由泵轮,涡轮,勺管室等组成,如下图所示.
图片尺寸640x401
产品类别:调速型液力偶合器
图片尺寸500x489