液动振动器原理图

液压振动系统的工作原理 图1 激振系统和激波器示意图 液压振动系统
图片尺寸1027x673
6,大部分型号的气动振动器的使用寿命相对较低.
图片尺寸281x264
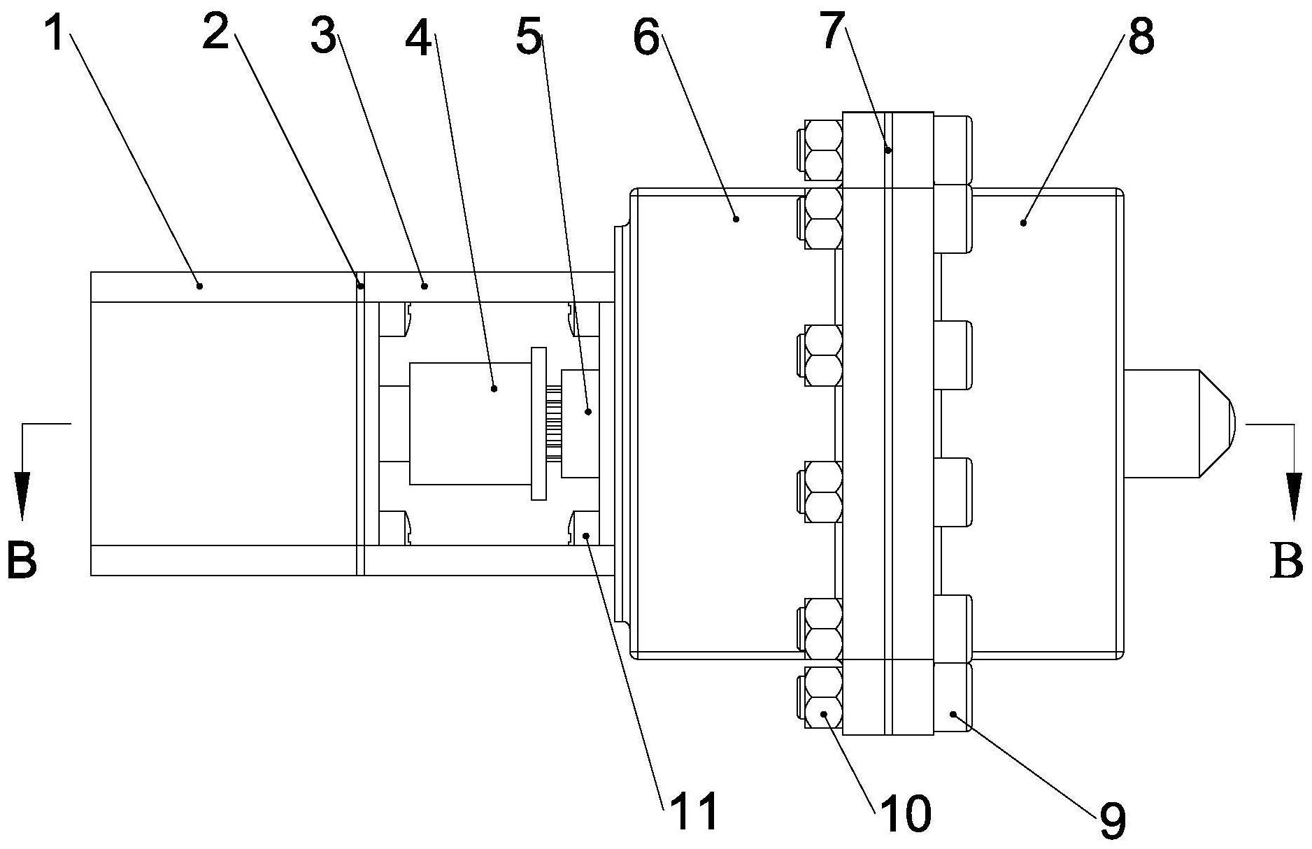
一种基于压电作动的液力主动隔振器
图片尺寸1570x1111
一种基于压电作动的液力主动隔振器
图片尺寸1570x1111
振动下料机液压系统
图片尺寸803x1000
电磁振动器原理图
图片尺寸864x589
电动振动系统介绍及原理!
图片尺寸500x334
振动台原理 电动振动试验系统的工作原理类似于扬声器,即通电导体在
图片尺寸457x447
长期批发 环保五金震动盘 振动盘自动送料 送料器 振动器小型
图片尺寸750x449
液压振动器由阀体,阀芯,安全罩,传动轴和电机械转换器组成.
图片尺寸1876x1214
一种新型振动器 - cn201720645734.
图片尺寸780x1000
气动振动器gt16 飞宇空气振动器gt16
图片尺寸1166x368
电工设备 电动机 机械设备用电动机 cz600电磁仓壁振动器 工作原理
图片尺寸307x307
液压缸卸荷回路振动问题
图片尺寸669x748
首页 产品展示 振动器电磁振动器工作原理: 振动器的控制原理为半波
图片尺寸849x543
电磁振动器原理图
图片尺寸553x397
电感式振动传感器是依据电磁感应原理设计的一种振动传感器.
图片尺寸485x240
一种半主动控制的磁性液体动力吸振器
图片尺寸1724x1291
一种药瓶振动器制造技术,女性用品振动器视频一专利_技高网
图片尺寸1000x598
cn206796104u_一种平板式振动器有效
图片尺寸1000x666