液压升降柱结构

全自动液压升降柱的构造与升降柱云平台系统的组成图
图片尺寸758x458
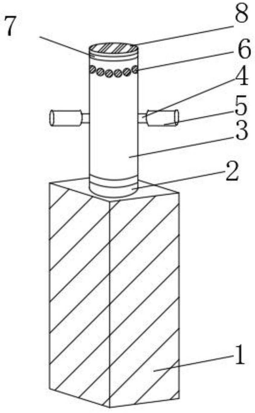
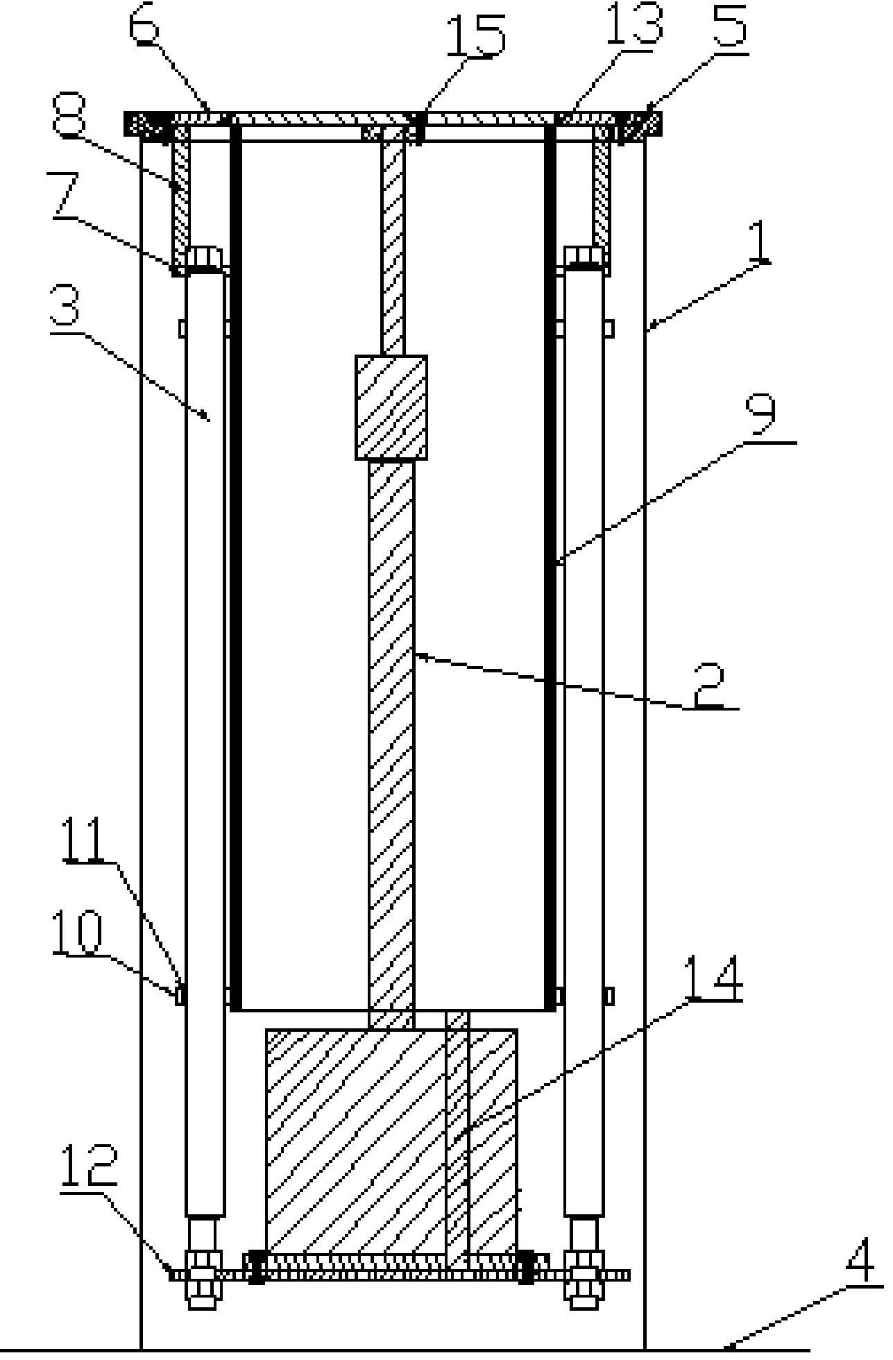
一种液压升降柱
图片尺寸1789x2223
双节液压升降柱的制作方法
图片尺寸307x444
2018-04-17 最佳答案 路障升降柱是一个液压或气压的活塞,原理臼乔
图片尺寸480x797
一种带伸出臂的液压升降柱的制作方法
图片尺寸525x1000
一种浅预埋深度的液压升降柱
图片尺寸586x1000
一种全自动液压升降柱的制作方法
图片尺寸455x855
(液压电梯安全结构效果图)2液压电梯有哪些"缺点"?
图片尺寸1080x709
一种桶装垃圾运输车用多级升降柱
图片尺寸1581x2408
一种新型机电液压升降柱的制作方法
图片尺寸747x1000
一种一体式液压升降柱
图片尺寸1193x1970
一种液压升降柱的制作方法
图片尺寸804x1000
液压一体升降柱-爱企查
图片尺寸1287x1960
一种具有防倾斜底座的液压升降柱的制作方法
图片尺寸449x458
一种小体积分体式液压升降柱的制作方法
图片尺寸731x1000
一种可旋转可升降的液压升降柱
图片尺寸844x1365
一种一体式液压升降柱的制作方法
图片尺寸1000x947
智能液压升降柱设计说明,系统图及大样图
图片尺寸1080x622
一种液压升降机
图片尺寸1619x1389
cn206752343u_一种新型停车场液压升降柱有效
图片尺寸289x410