液压平衡阀结构

target="_blank" href="/item/自力式平衡阀/1875428" data-lemmaid="
图片尺寸535x431
平衡阀是否真的能平衡?wkea维嘉带你看看!
图片尺寸1300x672
平衡阀的结构,原理及主要功用
图片尺寸550x361
静态平衡阀
图片尺寸930x380
一种平衡阀的结构示意图
图片尺寸552x554
800x压差旁通平衡阀工作原理使用说明安装调试
图片尺寸610x350
fd型平衡阀
图片尺寸550x311
液压阀结构及分类
图片尺寸656x389
一种先导式动态压差平衡阀
图片尺寸1944x1883
谁能帮我分析一下平衡阀的原理么 谢谢-液压电磁阀-爱液压论坛
图片尺寸1119x692
平衡阀工作原理图
图片尺寸369x325
双向平衡阀液压原理图
图片尺寸500x636
一种比例控制液压阀结构
图片尺寸1848x1040
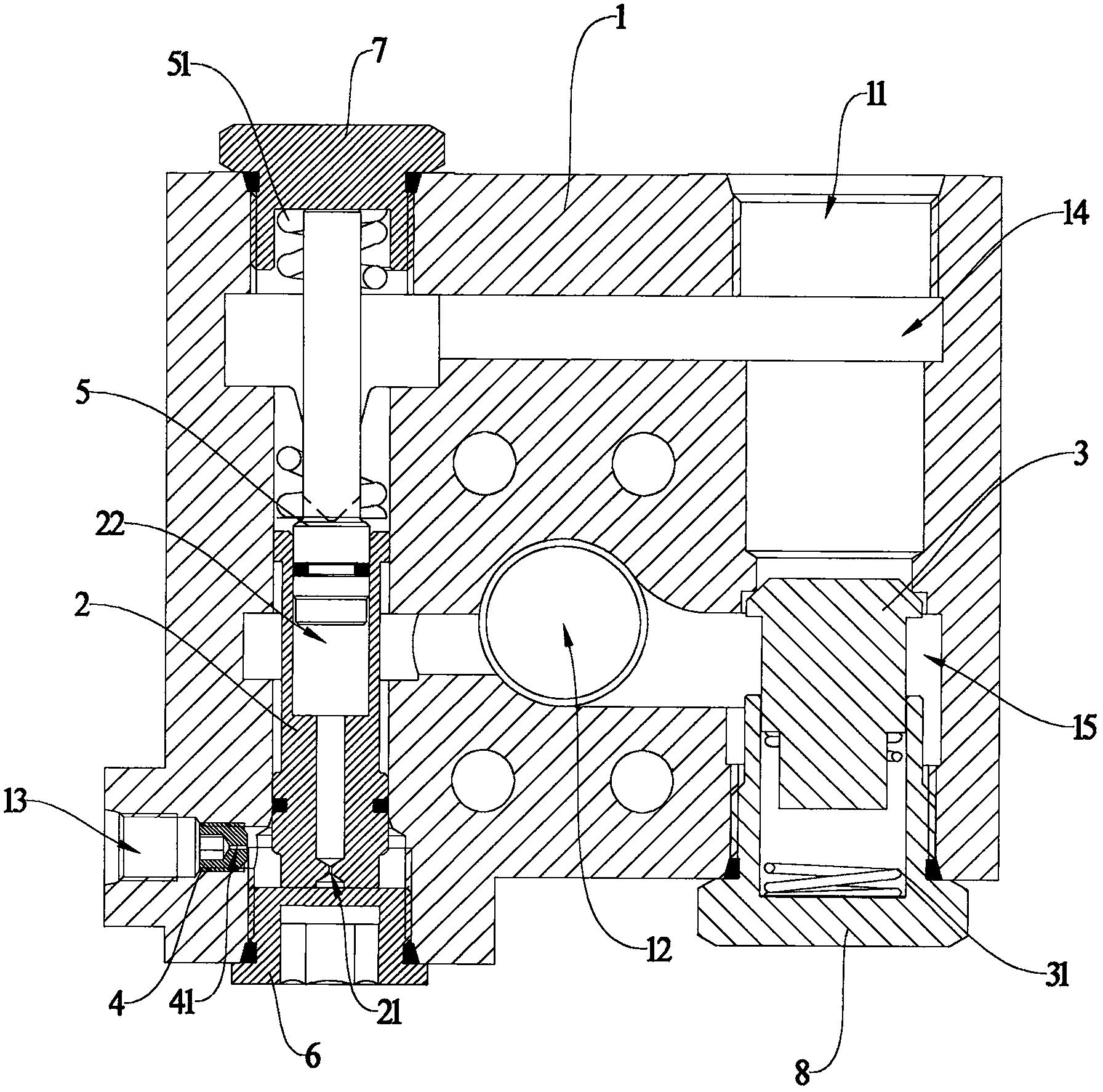
一种控制液压马达的简易式平衡阀
图片尺寸1792x1773
一种比例控制液压阀结构
图片尺寸1560x1040
液压学习:液压平衡阀的工作原理,作用和应用
图片尺寸450x404
cn101504088a_多功能通用型平衡阀失效
图片尺寸1787x2314
平衡阀图
图片尺寸700x366
平衡式套筒切断阀
图片尺寸1590x2109
一种平衡阀制造技术,液压平衡阀专利_技高网
图片尺寸727x1000