液压弹簧机构

abbhmb48型液压弹簧机构常见问题分析
图片尺寸1080x686
液压弹簧机构简介ppt
图片尺寸1080x810
abbhmb48型液压弹簧机构常见问题分析
图片尺寸1080x845
液压机构
图片尺寸281x458
弹簧机构
图片尺寸574x870
abbhmb48型液压弹簧机构常见问题分析
图片尺寸896x786
abbhmb48型液压弹簧机构常见问题分析
图片尺寸1080x773
模块化弹簧操作机构
图片尺寸1740x2410
机构动画可调力大小的压缩弹簧
图片尺寸486x480
一起cya6型液压弹簧开关机构打压频繁缺陷分析
图片尺寸388x312
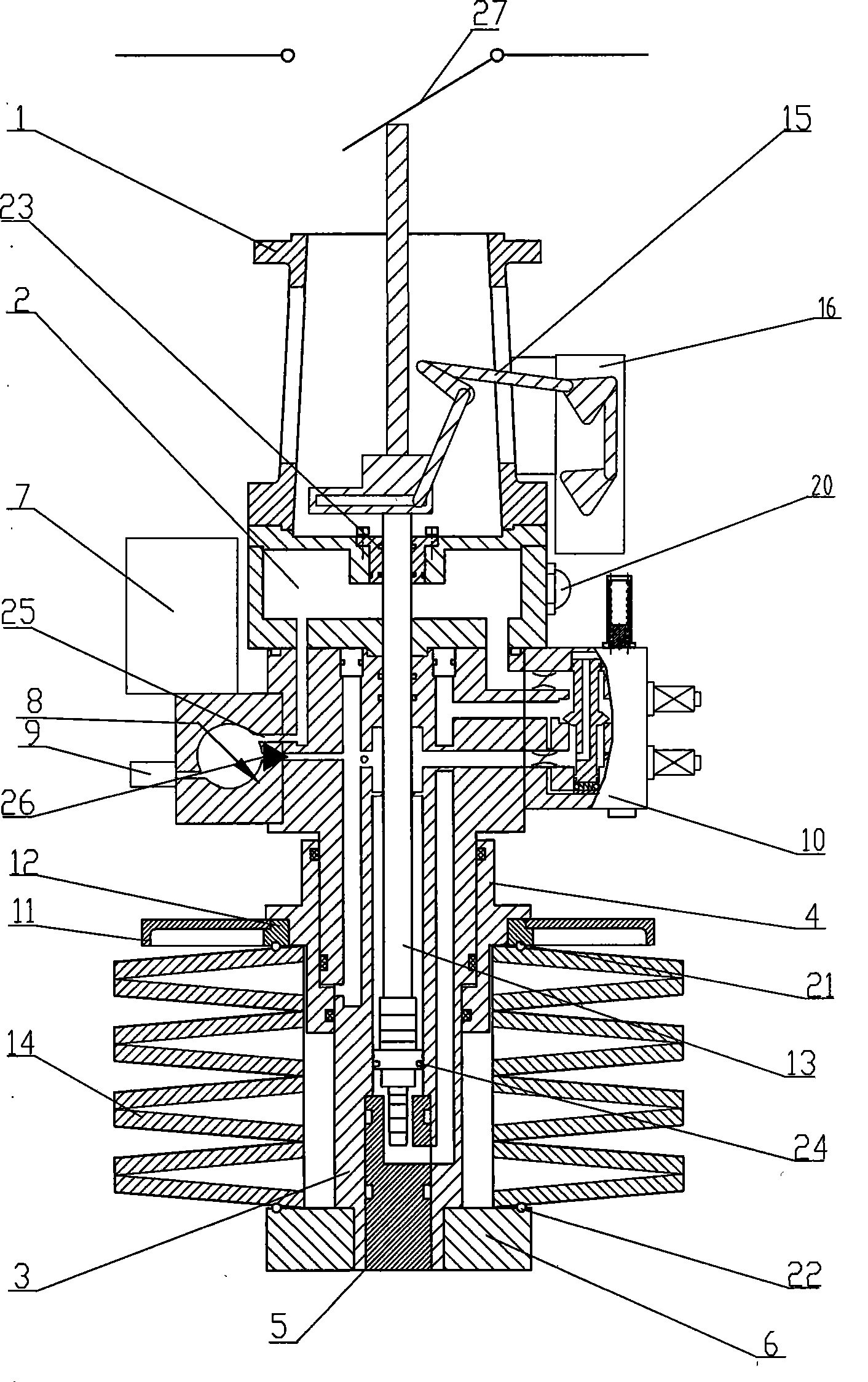
具有自卫能力的电磁液压阀型弹簧液压操动机构
图片尺寸1412x2248
cn100583341c_用于高压断路器的外套集成式弹簧液压操动机构有效
图片尺寸1346x2096
一种新型输液泵可调节弹簧机构
图片尺寸1796x1426
一种用于液压弹簧操动机构的压簧工装制造技术
图片尺寸587x914
cn201038094y_高压断路器用弹簧储能液压操动机构失效
图片尺寸1792x2393
液压弹簧操动机构
图片尺寸1548x1120
压力弹簧杆机构,完成.
图片尺寸1024x576
液压操纵机构
图片尺寸820x493
液压挺柱是发动机配气机构中的一个部件,它的作用是自动补偿气门间隙.
图片尺寸1080x810
弹簧换成多缸便成了多缸液压圆锥破你想的太简单了
图片尺寸359x359