液压扩张器原理

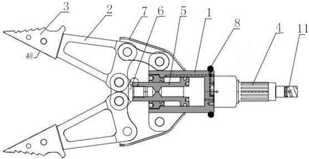
cn205948218u_一种用于抢险救援的液压扩张器有效
图片尺寸1000x516
超高压液压增压器简单介绍
图片尺寸454x673
航空词汇知多少扩压器
图片尺寸1080x706
jlda增压缸原理 - 东莞市久力气动液压设备有限公司
图片尺寸1182x1182
液压原理
图片尺寸516x297
一种电动液压剪扩器制造技术
图片尺寸1000x547
exploit 整体式液压扩张器消防救生扩张器 法兰扩张器 expzhs-10
图片尺寸1088x1088
一种增材制造的一体式扩压器
图片尺寸1000x782
scanwill-minibooster 超高压液压增压器连续增压高频动作超高压液压
图片尺寸636x695
增压器原理图
图片尺寸405x579
fsh-14法兰分离器 鸭嘴式液压法兰分离器 液压扩张器单双头
图片尺寸800x800
gykz-36-70/650型液压扩张器应用范围 液压扩张器
图片尺寸750x750
供应液压扩张器 便携式扩张器 法兰液压分离器
图片尺寸750x750
液压扩张器 hhp-10分离撑开器山东发货
图片尺寸800x800
博世特液压增压器工作原理
图片尺寸893x580
带式输送机用液压张紧装置
图片尺寸750x429
液压扩张器/液压剪扩器 液压撑顶器. 液压剪切器,液压机动泵
图片尺寸750x750
液压扩张器_扩张器_fsh-14-1_法兰分离器 法兰扩张器 机械式法兰
图片尺寸800x800
fsh-14 分体式双头法兰分离器 阶梯式液压扩张器 扩口器
图片尺寸800x800
消防救援剪扩钳dc4000k液压扩张器多功能钳消防扩张器消防多功能钳
图片尺寸750x750