液压挺柱的结构

液力挺柱
图片尺寸690x976
液压挺柱工作原理
图片尺寸614x499
液压挺住有哪些优点
图片尺寸1080x1042
液压挺柱工作原理动画
图片尺寸448x252
挺柱动画ppt
图片尺寸1080x810
为什么液力挺柱可以实现零气门间隙
图片尺寸1860x1046
液压挺柱结构挺柱的常见形式机械式挺柱可以减小摩擦造成的对挺柱的
图片尺寸584x257
液压挺住工作原理
图片尺寸640x567
一种发动机用拆卸液压挺柱-爱企查
图片尺寸1226x1788
cn2558769y_套筒式矿用单体液压支柱失效
图片尺寸1792x2882
液压挺柱ppt
图片尺寸1080x810
液压挺柱工作原理液力挺柱由挺柱体,柱塞,球座,柱塞弹簧,单向阀和单向
图片尺寸881x530
液压挺柱ppt
图片尺寸1080x810
液压挺柱原理
图片尺寸887x724
一种低摩擦的新型液压挺柱-爱企查
图片尺寸1813x1158
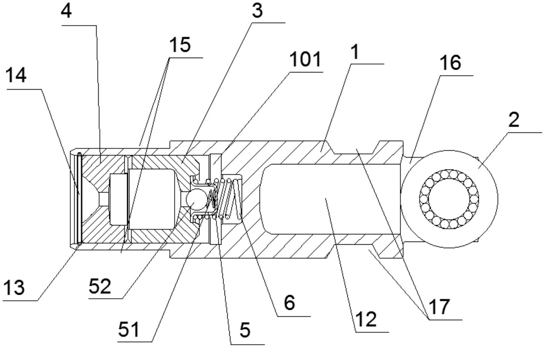
液压挺柱结构的制作方法
图片尺寸1000x678
液压挺杆结构图
图片尺寸500x294
升程可控式液力挺柱系统专利_专利申请于2020-06-29
图片尺寸1898x1632
发动机气门间隙自动调整的液压挺柱
图片尺寸1100x1456
搜索朱 汽缸盖 液压挺杆 micka l delaunay
图片尺寸1080x810