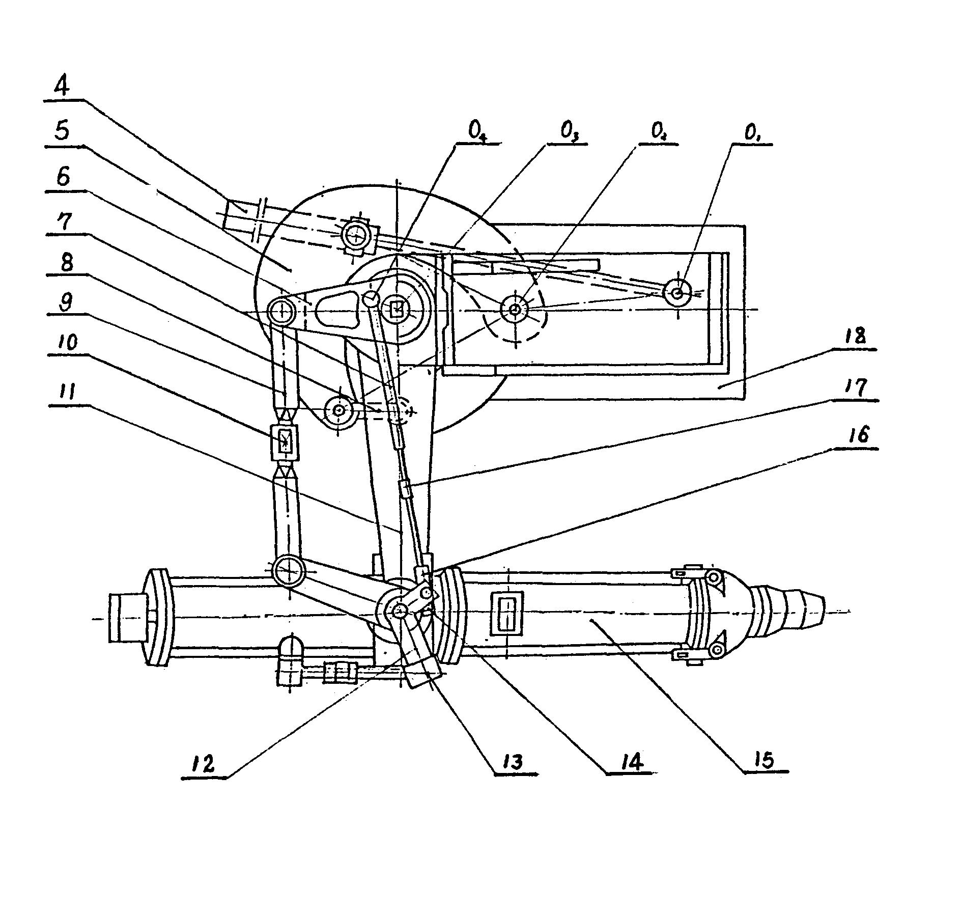
液压泥炮结构图

复合机构液压矮泥炮-爱企查
图片尺寸1888x1795
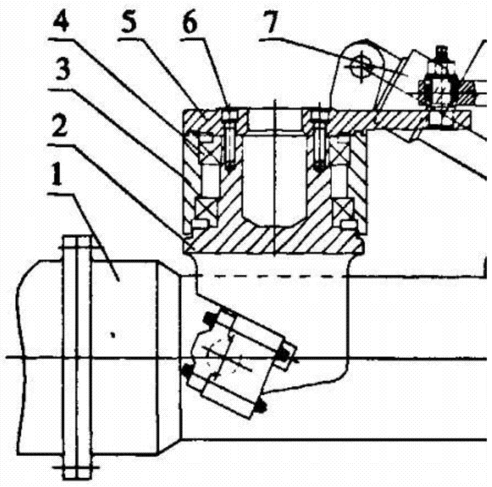
大推力,高寿命液压泥炮-爱企查
图片尺寸1932x1909
p>高炉泥炮又名液压泥炮,属于冶炼行业必备的炉前设备,其作用是能够
图片尺寸789x596
液压泥炮的制作方法
图片尺寸433x443
液压泥炮打泥机构的使用与改进
图片尺寸941x533
液压矮泥炮
图片尺寸992x864
一种底座装配式液压泥炮的制作方法
图片尺寸443x293
冶金设备液压泥炮的概况及特点
图片尺寸700x366
一种自冷却式高炉液压泥炮的制作方法
图片尺寸443x308
cn203938680u_一种高炉三段炮头液压泥炮失效
图片尺寸1000x828
液压泥炮的修复技术探讨_参考网
图片尺寸450x594
一种液压泥炮吊挂机构
图片尺寸1000x991
高炉泥炮液压系统
图片尺寸444x351
3泥炮问题分析及优化设计改造
图片尺寸1583x1354
泥炮
图片尺寸271x242
高炉炉前液压泥炮回转部分设计.pdf
图片尺寸800x1084
一种高炉泥炮打泥量精确显示装置-爱企查
图片尺寸588x287
液压泥炮
图片尺寸1170x541
一种新型泥炮炮嘴-爱企查
图片尺寸260x260
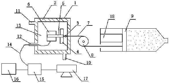
一种高炉泥炮在线状态监控系统技术方案
图片尺寸967x995